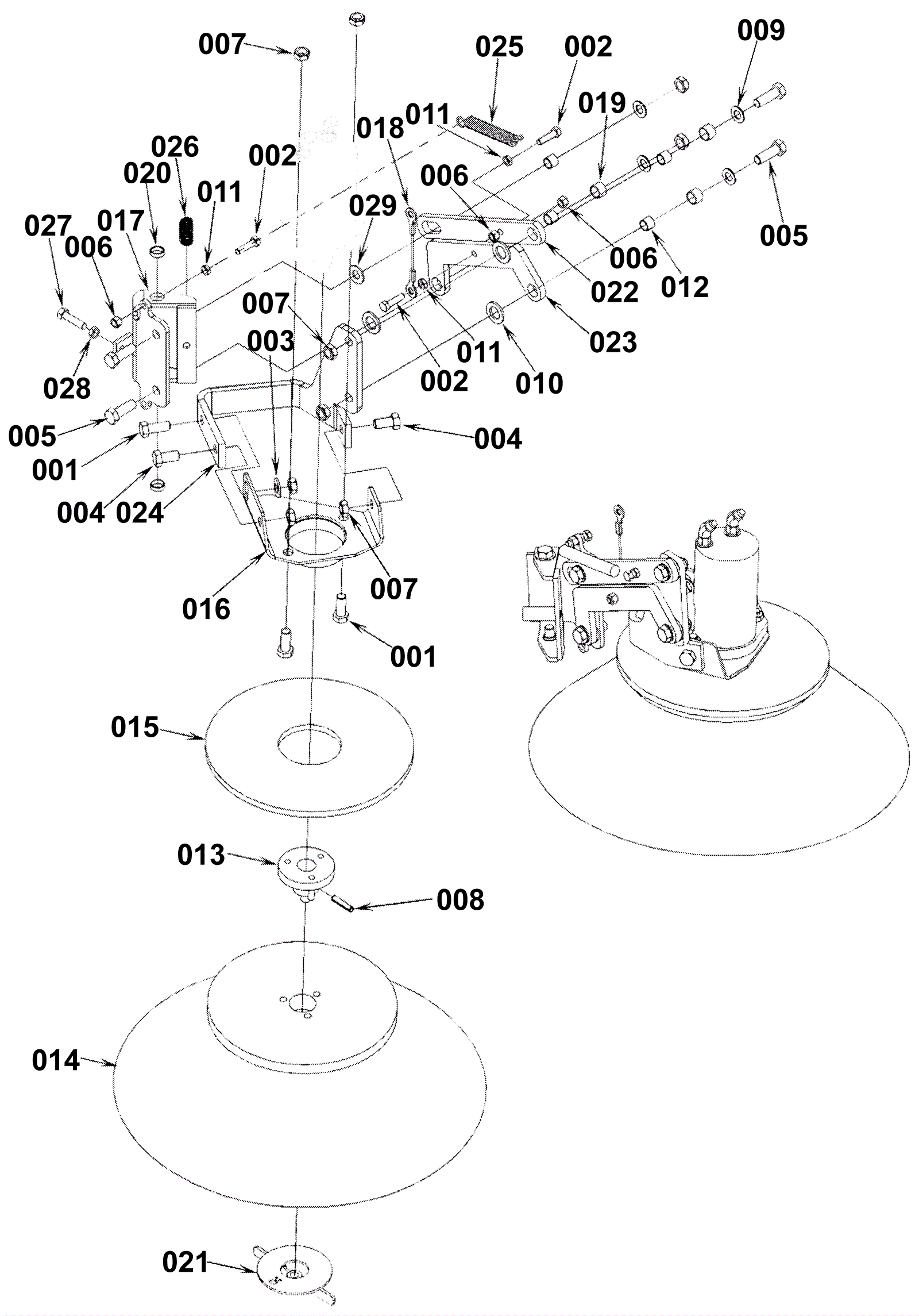
Side Broom Sub Assembly
Click to enlarge