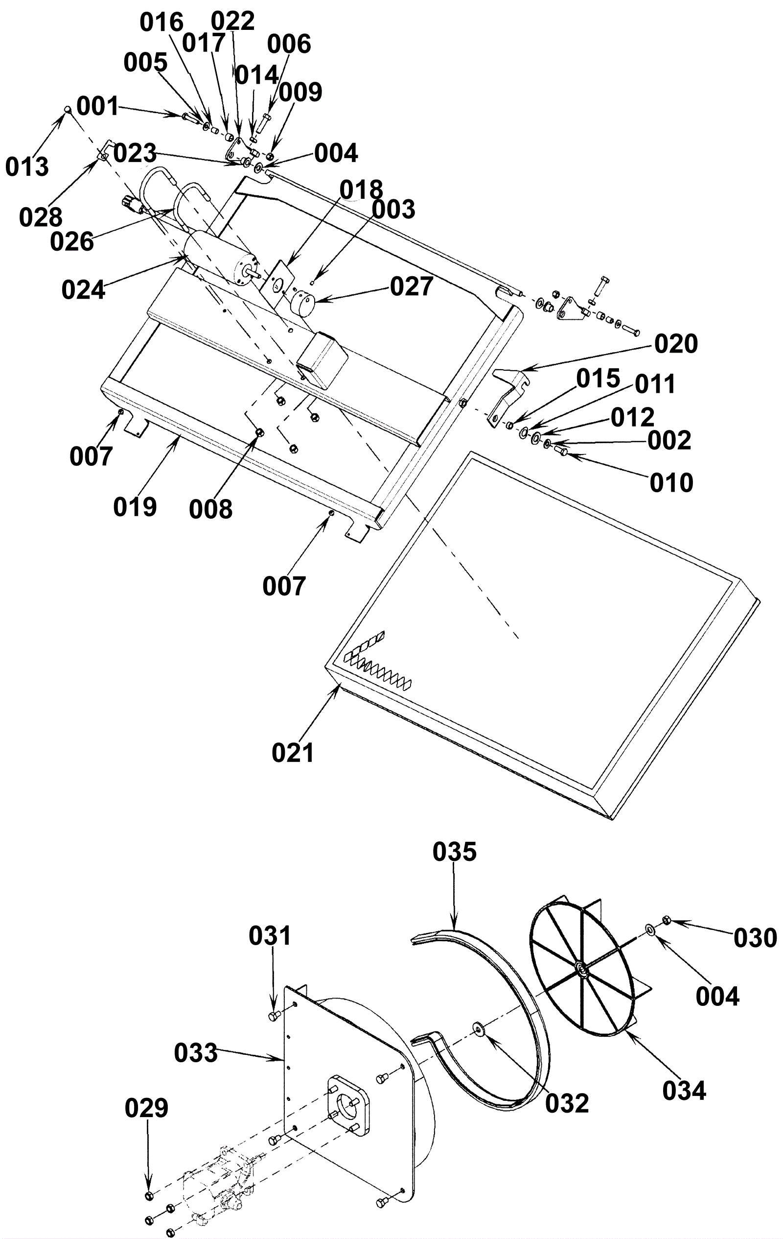
Dust Control Assembly
Click to enlarge