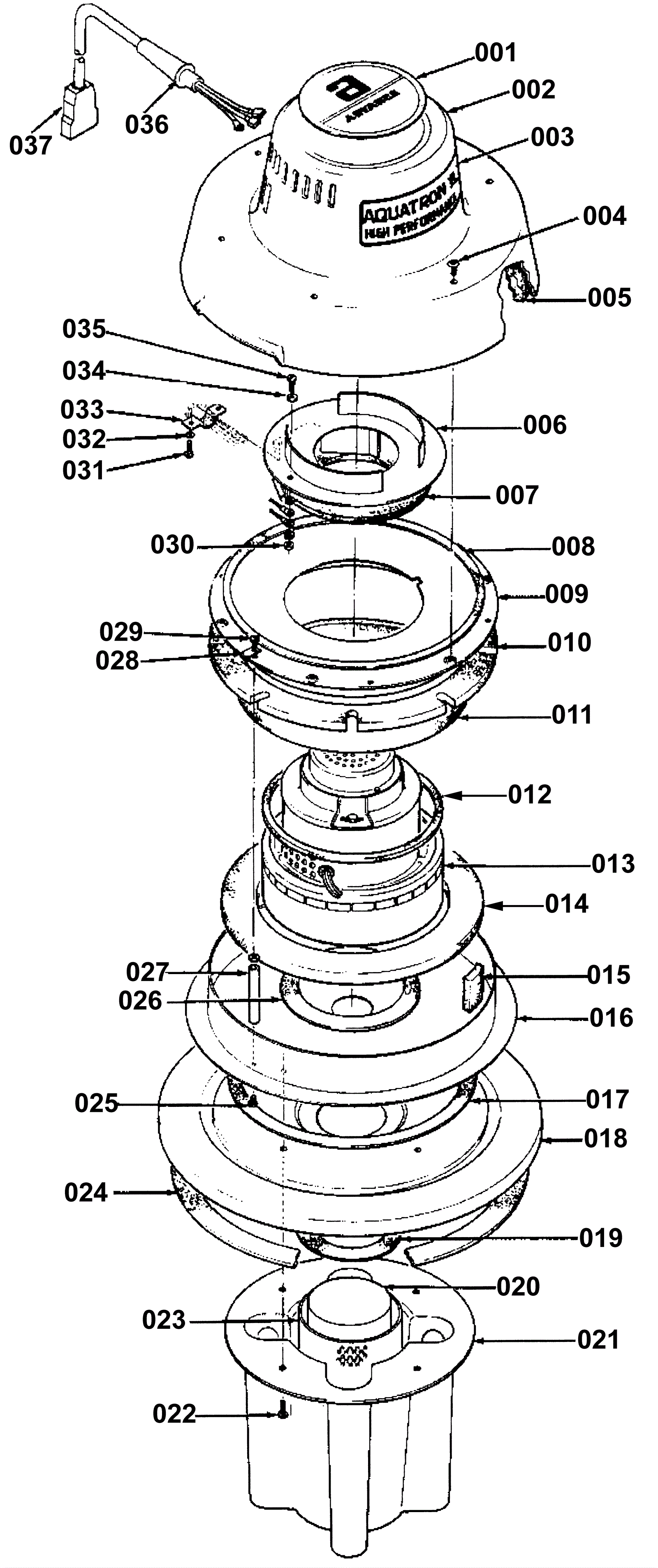
Vacuum Head Assembly before SN209394
Click to enlarge