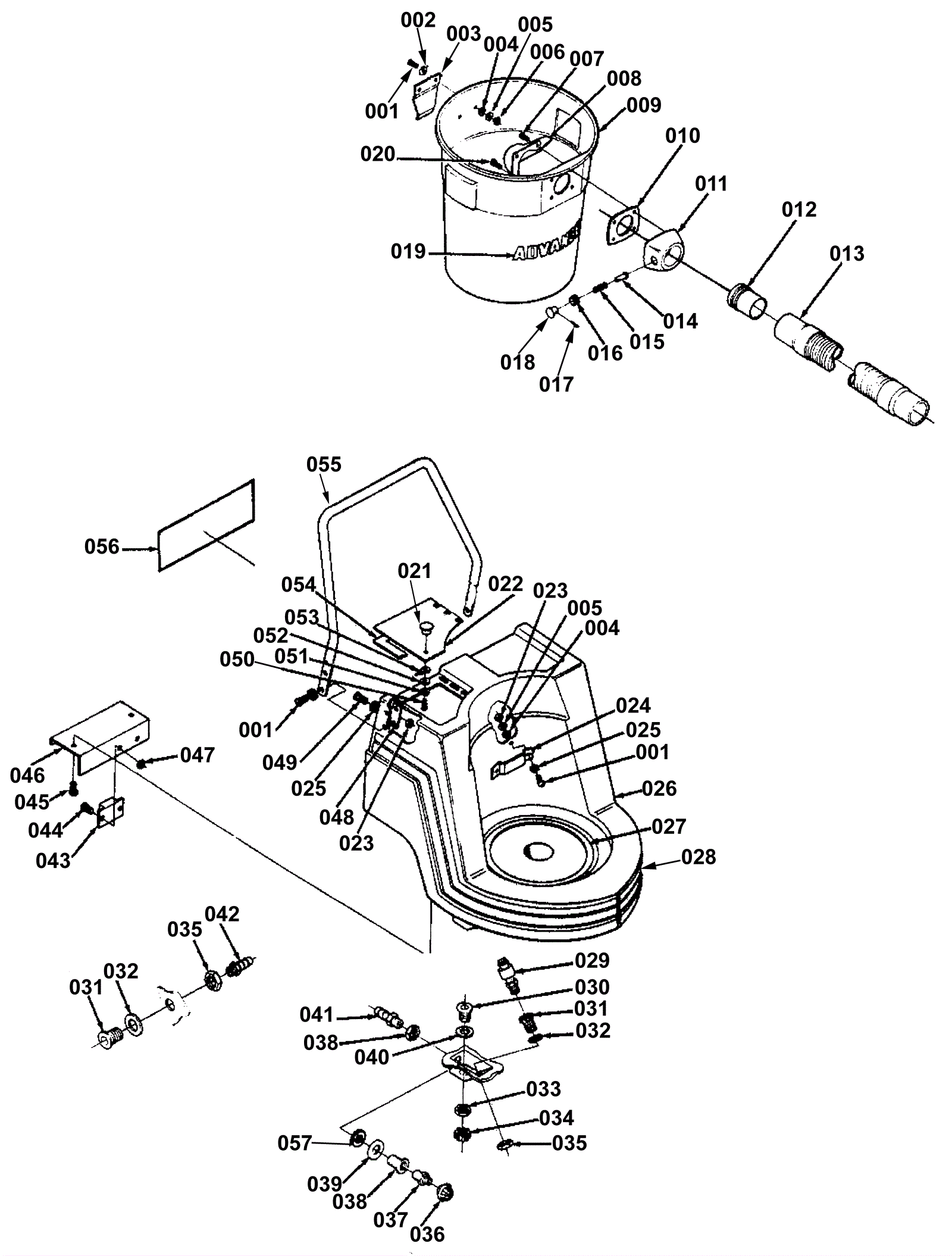
Tank Assemblies before SN209394
Click to enlarge