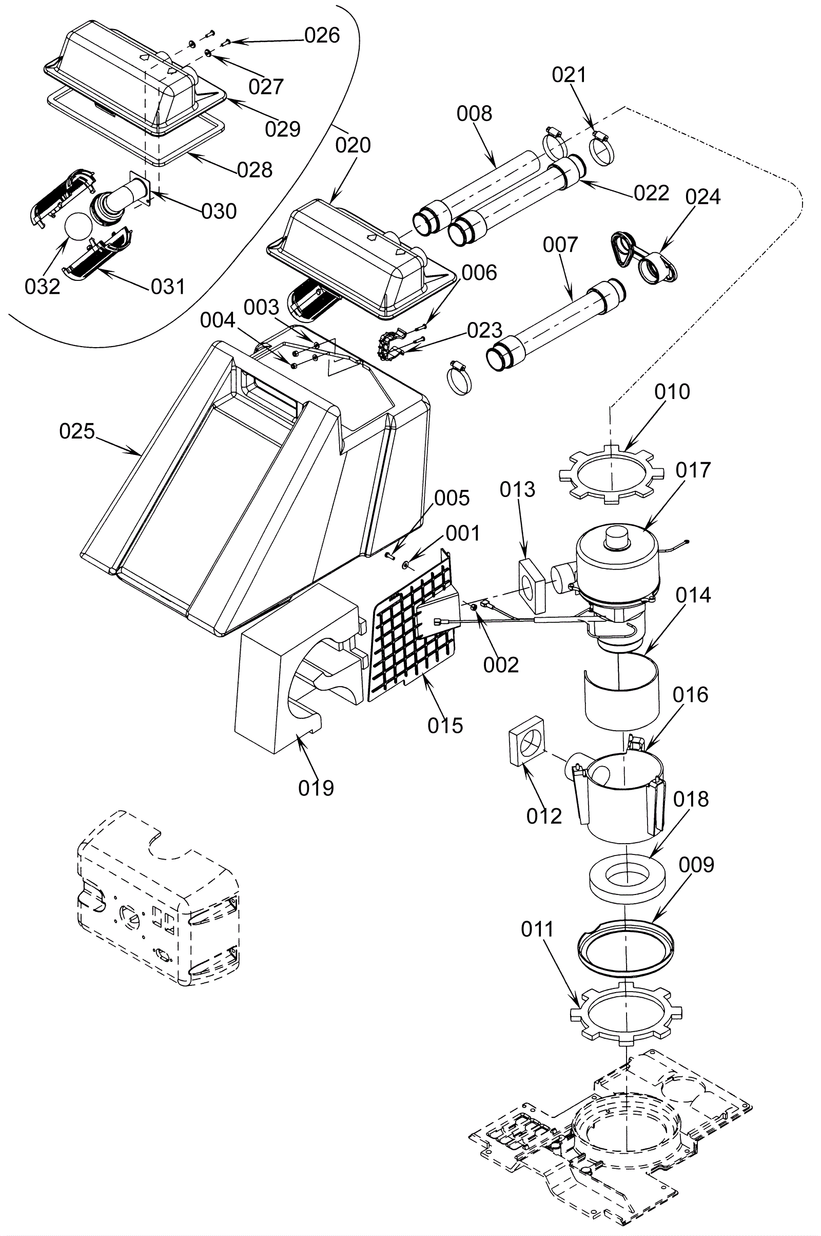
Recovery System Assembly
Click to enlarge