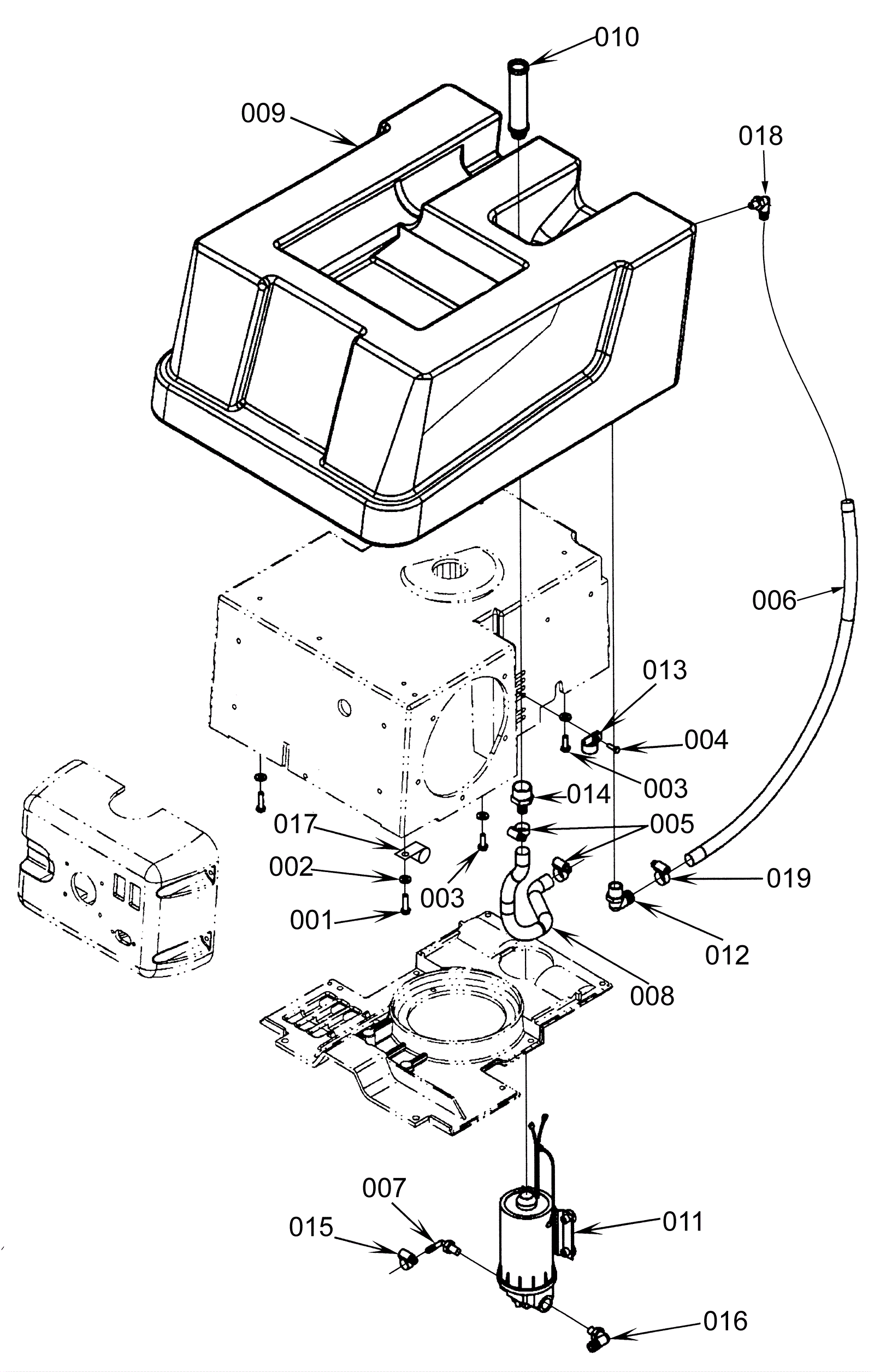
Solution System Assembly
Click to enlarge
#
Part
Description
Price
Req
Notes
Availability
009
172-1329
Solution tank 8 gallon (OBSOLETE)
$756.51
1
usually ships 1-5 days