| # | Part | Description | Price | Req | Notes | Availability |
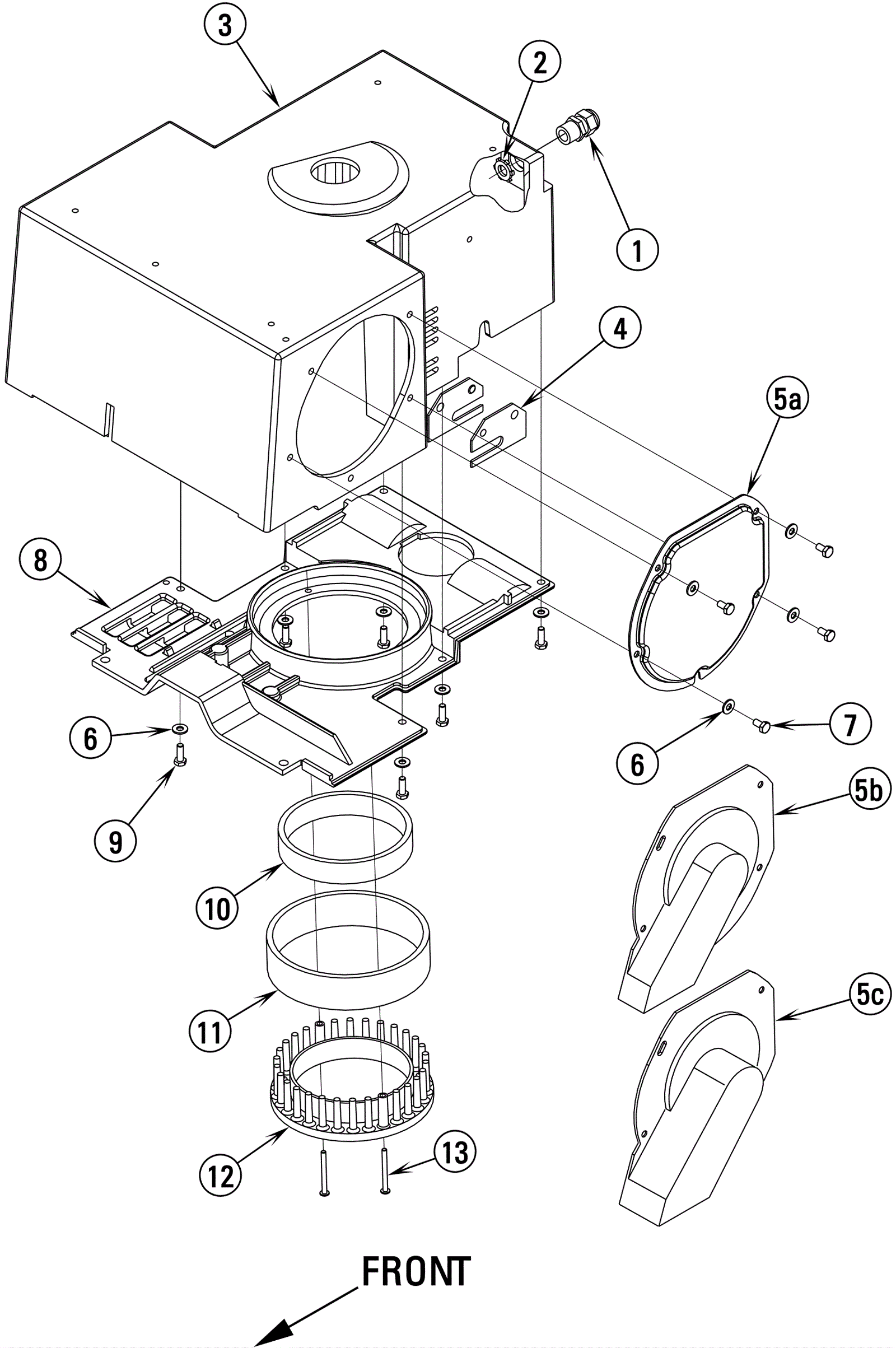
1 |
172-4018
|
Strain relief |
$14.41
|
1 |
|
usually ships 13-18 days |
2 |
172-4536
|
Nut 1/2-14 conduit lock |
$14.18
|
1 |
|
usually ships 13-18 days |
3 |
172-1306
|
Chassis |
$511.50
|
1 |
|
usually ships 1-5 days |
4 |
172-1307
|
Plate (OBSOLETE) |
$15.29
|
4 |
|
usually ships 1-5 days |
5a |
172-1308
|
Belt guard (OBSOLETE) |
$7.41
|
1 |
(12) |
usually ships 1-5 days |
5b |
272-2570
|
Belt guard (OBSOLETE) |
$31.46
|
1 |
(15) |
usually ships 1-5 days |
5c |
172-1309
|
Belt guard |
$57.20
|
1 |
(18) |
usually ships 1-5 days |
6 |
999-0123
|
Washer 1/4 SAE flat zinc plated |
$0.99
|
10 |
(qty 11 for Aquaclean 15 and 18) |
ships same day |
7 |
999-0018
|
Bolt 1/4-20 x 1/2 hex cap grade 5 zinc plated |
$0.99
|
4 |
(qty 5 for Aquaclean 15 and 18) |
ships same day |
8 |
172-4154
|
Bottom cover (OBSOLETE) |
$209.59
|
1 |
|
usually ships 13-18 days |
9 |
272-1596
|
Bolt 1/4-20 x 3/4 hex head lock |
$14.41
|
6 |
|
usually ships 1-5 days |
10 |
172-1310
|
Accoustical foam |
$12.89
|
1 |
|
ships same day |
11 |
172-4662
|
Air cooling filter |
$32.56
|
1 |
|
usually ships 13-18 days |
12 |
172-1311
|
Molded cap (OBSOLETE) |
$25.52
|
1 |
|
usually ships 13-18 days |
13 |
372-0047
|
Screw 10-24 x 2 pan head phillips |
$12.89
|
2 |
|
usually ships 13-18 days |