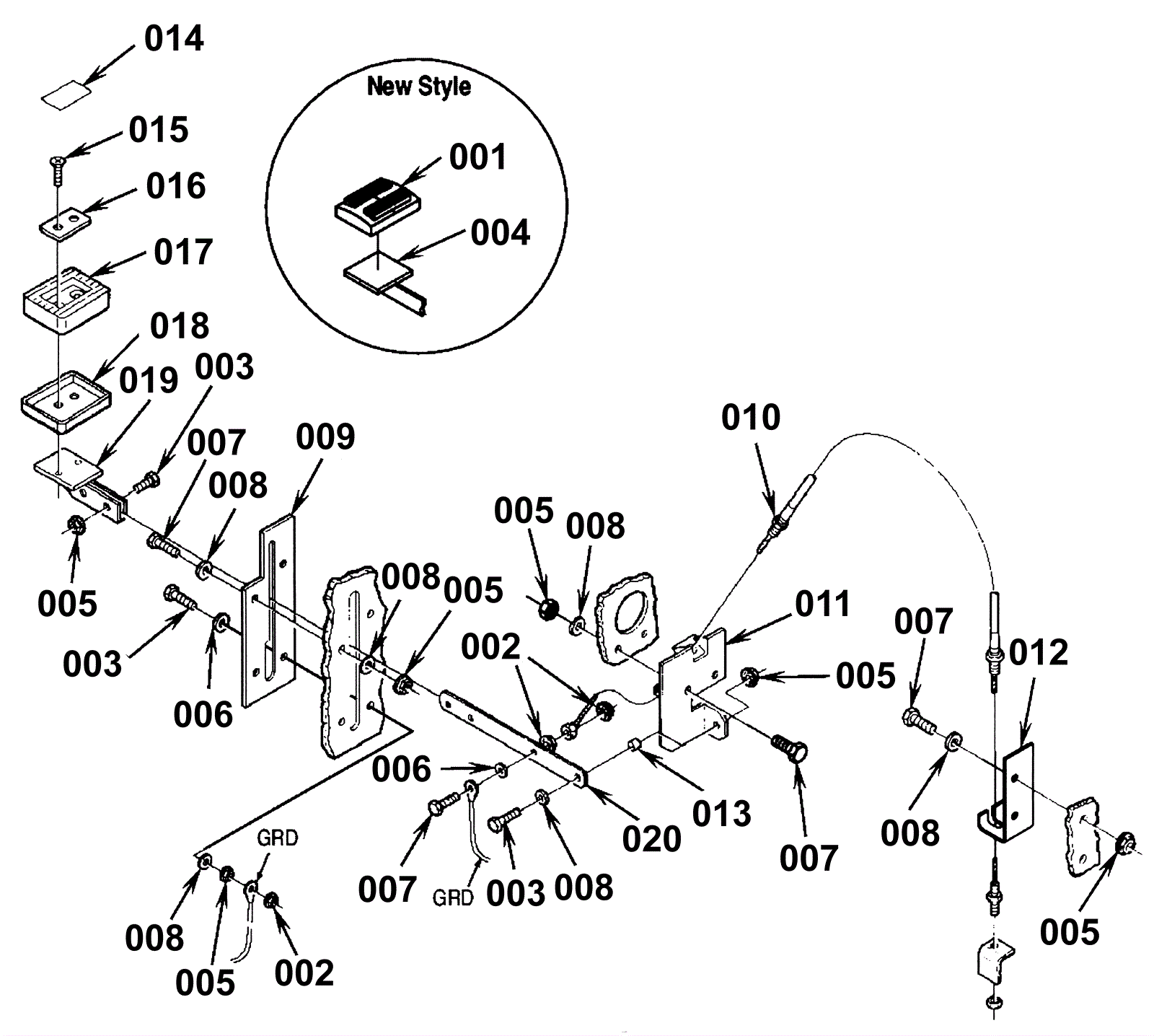
| # | Part | Description | Price | Req | Notes | Availability |
001 |
272-1983
|
Rubber pedal pad |
$11.35
|
1 |
|
usually ships 13-18 days |
002a |
999-0152
|
Nut 1/4-20 nylon insert lock zinc plated |
$0.99
|
3 |
after SN 1023167 |
ships same day |
002b |
999-0304
|
Nut 1/4-20 nylon lock jam stainless steel |
$0.99
|
3 |
after SN 521546 |
ships same day |
003 |
999-0334
|
Bolt 1/4-20 x 3/4 inch hex head stainless steel |
$3.85
|
4 |
|
usually ships 16-20 days |
004a |
272-9134
|
Plate weldment |
$61.60
|
1 |
after SN 1023167 |
usually ships 1-5 days |
004b |
272-0947
|
Plate arm (OBSOLETE) |
$196.13
|
1 |
after SN 521546 |
usually ships 1-5 days |
005a |
999-0152
|
Nut 1/4-20 nylon insert lock zinc plated |
$0.99
|
11 |
|
ships same day |
005b |
999-0294
|
Nut 1/4-20 hex nylon lock type NE stainless steel |
$1.18
|
5 |
after SN 521546 |
ships same day |
006 |
999-0238
|
Washer 1/4 internal star lock zinc plated |
$0.99
|
1 |
|
ships same day |
007 |
999-0297
|
Bolt 1/4-20 x 1 hex head stainless steel |
$2.53
|
8 |
|
ships same day |
008 |
999-0123
|
Washer 1/4 SAE flat zinc plated |
$0.99
|
12 |
|
ships same day |
009 |
272-0943
|
Hook plate (OBSOLETE) |
$33.00
|
1 |
|
usually ships 13-18 days |
010 |
272-0944
|
Cable |
$140.86
|
1 |
|
usually ships 1-5 days |
011 |
272-0945
|
Pivot bracket (OBSOLETE) |
$36.74
|
1 |
|
usually ships 1-5 days |
012a |
272-9135
|
Bracket (OBSOLETE) |
$16.17
|
1 |
after SN 1023167 |
usually ships 1-5 days |
012b |
N/A
|
Not available |
Call for price
|
1 |
(Bracket - after SN 521546) |
usually ships 3-26 days |
013 |
172-0379
|
Bushing |
$17.83
|
1 |
|
usually ships 13-18 days |
014 |
N/A
|
Not available |
Call for price
|
1 |
brush decal |
usually ships 3-26 days |
015 |
999-1129
|
Screw 1/4-20 x 1/2 pan head phillips thread rolling zinc |
$0.99
|
2 |
after SN 1023167 |
ships same day |
016 |
172-0358
|
Plate (OBSOLETE) |
$59.29
|
1 |
|
usually ships 1-5 days |
017 |
N/A
|
Not available |
Call for price
|
1 |
rubber pad |
usually ships 3-26 days |
018 |
N/A
|
Not available |
Call for price
|
1 |
pedal cup |
usually ships 3-26 days |
019 |
272-0942
|
Pedal weldment (OBSOLETE) |
$120.23
|
1 |
|
usually ships 1-5 days |