| # | Part | Description | Price | Req | Notes | Availability |
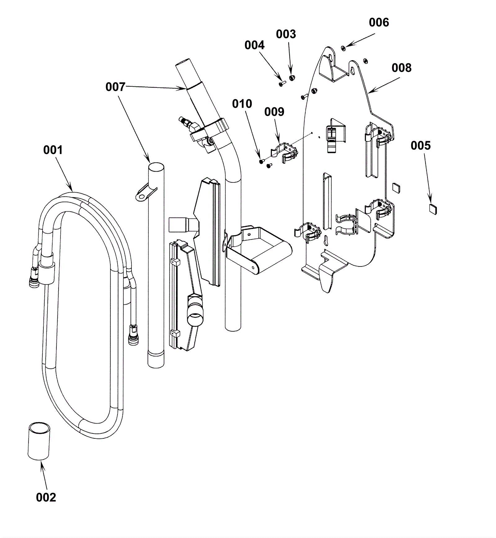
001 |
181-1102
|
Solution and vacuum hose assembly |
$264.79
|
1 |
|
usually ships 13-18 days |
002 |
172-3504
|
Coupler |
$59.84
|
1 |
|
usually ships 1-5 days |
003 |
172-9099
|
Stepped bushing |
$20.82
|
3 |
|
usually ships 1-5 days |
004 |
999-0269
|
Screw 10-24 x 5/8 pan head phillips zinc plated |
$0.99
|
3 |
|
ships same day |
005 |
172-1238
|
Bumper |
$14.41
|
2 |
|
usually ships 1-5 days |
006 |
999-0998
|
Washer #10 flat stainless steel |
$0.99
|
2 |
|
ships same day |
007 |
172-3505
|
Wand assembly |
$2,049.55
|
1 |
|
usually ships 13-18 days |
008 |
172-3506
|
Caddy |
$225.10
|
1 |
|
usually ships 1-5 days |
009 |
272-1159
|
Plastic clamp |
$11.35
|
6 |
|
ships same day |
010 |
999-0409
|
Screw 10-24 x 3/8 pan head slotted zinc plated |
$0.99
|
12 |
|
ships same day |
KIT |
272-0477
|
Scrub-n-vac kit |
$1,455.63
|
1 |
|
usually ships 1-5 days |
N/S |
N/A
|
Not available |
Call for price
|
1 |
(Instruction sheet) |
usually ships 3-26 days |