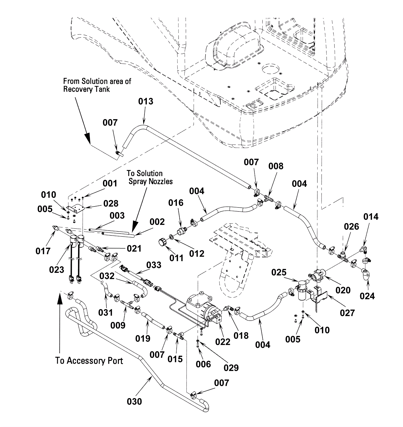
# | Part | Description | Price | Req | Notes | Availability |
001 |
999-0452
|
Screw 8-32 x 3/8 pan head phillips zinc plated |
$0.99
|
4 |
|
ships same day |
002 |
172-1350
|
10 inch hose |
$10.85
|
1 |
|
ships same day |
003 |
181-1108
|
Solution feed hose |
$8.18
|
1 |
|
ships same day |
004 |
172-2815
|
Main solution hose |
$13.17
|
3 |
|
usually ships 13-18 days |
005 |
999-0333
|
Screw 10-24 x 1/2 pan head phillips stainless steel |
$0.99
|
4 |
|
ships same day |
006 |
999-0400
|
Screw 10-24 x 1 pan head phillips zinc plated |
$0.99
|
2 |
|
ships same day |
007 |
997-2002
|
Hose clamp #6 |
$2.15
|
18 |
|
ships same day |
008 |
172-4114
|
Tee barb |
$12.31
|
1 |
|
usually ships 13-18 days |
009 |
172-9009
|
Tee barb |
$24.60
|
1 |
|
usually ships 1-5 days |
010 |
999-0998
|
Washer #10 flat stainless steel |
$0.99
|
4 |
|
ships same day |
011 |
172-0254
|
Nylon pipe cap |
$12.31
|
1 |
|
usually ships 13-18 days |
012 |
172-0197
|
Rubber washer |
$10.85
|
1 |
|
usually ships 13-18 days |
013 |
272-1041
|
Hose machines |
$34.87
|
1 |
|
usually ships 1-5 days |
014 |
172-2103
|
Elbow barb |
$10.85
|
1 |
|
usually ships 13-18 days |
015 |
172-8894
|
Recovery tank cover (OBSOLETE) |
$709.40
|
1 |
|
usually ships 1-5 days |
016 |
172-9033
|
Adapter barb 1/2 x 3/4 |
$9.13
|
1 |
|
usually ships 1-5 days |
017 |
172-1337
|
90 degree barb 1/4 |
$26.04
|
2 |
|
usually ships 13-18 days |
018 |
172-4056
|
90 degree barbed elbow |
$10.85
|
1 |
|
usually ships 13-18 days |
019 |
181-0258
|
Vinyl tube |
$11.75
|
1 |
|
usually ships 1-5 days |
020 |
172-2105
|
Manual solution valve |
$199.52
|
1 |
|
usually ships 13-18 days |
021 |
172-0298
|
Barb fitting 1/4 x 3/8 |
$12.31
|
2 |
|
usually ships 13-18 days |
022 |
172-1855
|
36V pump |
$873.46
|
1 |
|
usually ships 13-18 days |
023 |
272-0454
|
Solenoid valve |
$215.00
|
2 |
|
usually ships 1-5 days |
024 |
172-2327
|
Wire reinforced clear hose (OBSOLETE) |
$13.17
|
1 |
|
usually ships 13-18 days |
025 |
272-0455
|
Strainer |
$46.00
|
1 |
|
usually ships 13-18 days |
026 |
172-3435
|
Tee barb |
$10.85
|
1 |
|
usually ships 13-18 days |
027 |
172-3446
|
Flow control kit |
$174.69
|
1 |
|
usually ships 1-5 days |
028 |
272-0456
|
Solenoid mount bracket (OBSOLETE) |
$22.33
|
1 |
|
usually ships 1-5 days |
029 |
999-0006
|
Washer 3/16 flat zinc plated |
$0.99
|
2 |
|
ships same day |
030 |
172-3509
|
Spiral hose 3/8 x 63 inches |
$34.87
|
1 |
|
usually ships 1-5 days |
031 |
181-0125
|
Vinyl tube |
$14.91
|
1 |
|
usually ships 1-5 days |
032 |
991-1409
|
Clear vinyl tubing 9/16 OD x 3/8 ID inch (sold by the inch) |
$0.55
|
6 in |
|
usually ships 10-12 days |
033 |
272-0458
|
Transient voltage suppressor assembly |
$46.00
|
1 |
|
usually ships 1-5 days |