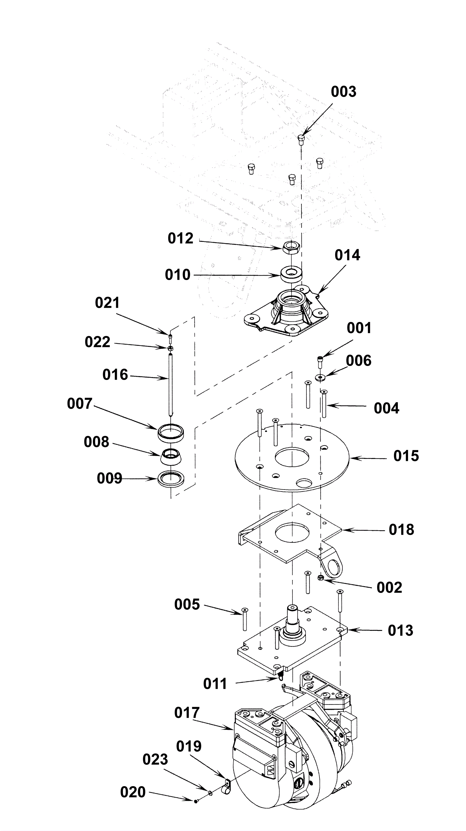
| # | Part | Description | Price | Req | Notes | Availability |
001 |
999-0005
|
Screw 5/16-18 x 7/8 socket head |
$0.99
|
1 |
|
ships same day |
002 |
999-0278
|
Nut 5/16-18 nylon insert lock jam zinc plated |
$0.99
|
1 |
|
ships same day |
003 |
272-1652
|
Bolt 3/8-16 x 5/6 lock |
$12.89
|
4 |
|
usually ships 1-5 days |
004 |
999-1379
|
Screw M8-1.25 x 70mm socket head stainless steel |
$0.99
|
4 |
|
usually ships 1-5 days |
005 |
999-1828
|
Screw M8-1.25 x 55mm socket head stainless steel |
$4.54
|
4 |
|
ships same day |
006 |
172-2067
|
Washer 11/32 x 1/8 flat |
$12.89
|
1 |
|
usually ships 13-18 days |
007 |
172-3315
|
Bearing cup |
$45.00
|
1 |
|
usually ships 13-18 days |
008 |
172-3316
|
Bearing cone |
$72.26
|
1 |
|
usually ships 13-18 days |
009 |
172-3317
|
Seal |
$56.65
|
1 |
|
usually ships 13-18 days |
010 |
172-0435
|
Top bearing |
$45.00
|
1 |
|
usually ships 13-18 days |
011 |
172-1384
|
Spring |
$25.75
|
1 |
|
usually ships 13-18 days |
012 |
172-0951
|
Nut 1-14 hex thin nylock UNF |
$5.50
|
1 |
|
usually ships 1-5 days |
013 |
172-3329
|
Spindle weldment |
$305.09
|
1 |
|
usually ships 1-5 days |
014 |
172-3319
|
Bearing block |
$240.68
|
1 |
|
usually ships 13-18 days |
015 |
172-3320
|
Steering plate |
$216.63
|
1 |
|
usually ships 1-5 days |
016 |
172-3321
|
Brake rod |
$34.23
|
1 |
|
usually ships 13-18 days |
017 |
172-3494
|
Drive wheel motor assembly |
$4,649.59
|
1 |
|
usually ships 13-18 days |
018 |
172-3327
|
Splash guard plate |
$112.55
|
1 |
|
usually ships 1-5 days |
019 |
172-3330
|
P clamp |
$11.35
|
1 |
|
usually ships 1-5 days |
020 |
999-1556
|
Screw M4-.7 x 8mm pan head phillips zinc plated |
$0.99
|
1 |
|
ships same day |
021 |
999-0014
|
Screw 10-24 x 3/4 button head socket stainless steel |
$0.99
|
1 |
|
ships same day |
022 |
999-0960
|
Nut 10-24 hex stainless steel |
$0.99
|
1 |
|
ships same day |
023 |
999-0377
|
Washer 6 SAE flat plain finish |
$0.99
|
1 |
|
ships same day |
N/S |
172-3323
|
Brake lever weldment |
$425.50
|
1 |
|
usually ships 1-5 days |
N/S |
172-3324
|
Brake band |
$753.78
|
1 |
|
usually ships 13-18 days |
N/S |
172-3326
|
Drive wheel with bolts |
$1,122.64
|
1 |
|
usually ships 13-18 days |
N/S |
172-8859
|
Brush cover kit |
$62.89
|
1 |
|
usually ships 13-18 days |
N/S |
172-8860
|
Sealing ring |
$30.60
|
1 |
|
usually ships 13-18 days |
N/S |
172-8861
|
Gearbox ball bearing |
$120.29
|
1 |
|
usually ships 13-18 days |
N/S |
172-8862
|
Brush side ball bearing |
$31.63
|
1 |
|
ships same day |
N/S |
172-8864
|
Carbon brush kit (includes 6 brushes and hardware) |
$705.76
|
1 |
|
usually ships 13-18 days |