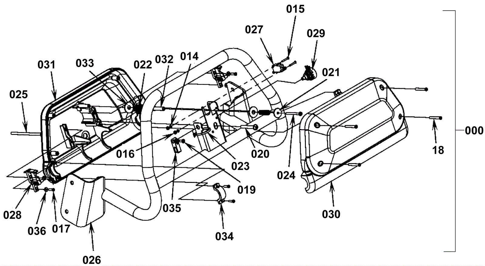
| # | Part | Description | Price | Req | Notes | Availability |
000 |
172-3147
|
Handle paddle assembly |
$861.96
|
1 |
(Includes items 014-036) |
usually ships 1-5 days |
014 |
999-0985
|
Washer #4 SAE flat |
$0.99
|
2 |
|
ships same day |
015 |
272-1520
|
Screw 4-40 X 3/4 phillips pan head |
$15.85
|
2 |
|
usually ships 1-5 days |
016 |
999-0295
|
Nut 4-40 nylon insert lock stainless steel |
$0.99
|
2 |
|
ships same day |
017 |
999-1362
|
Screw 6-18 x 5/8 pan head phillips stainless steel |
$0.99
|
8 |
|
ships same day |
018 |
172-2034
|
Screw 8-15 x 1 1/2 pan phil plastite |
$11.69
|
4 |
|
usually ships 1-5 days |
019 |
999-0521
|
Screw M4-.7 x 12mm pan head phillips zinc |
$2.31
|
1 |
|
ships same day |
020 |
172-2035
|
Screw 1/4-10 x 2 pan head phillips |
$12.89
|
1 |
|
usually ships 13-18 days |
021 |
999-0588
|
Washer 7/8 flat stainless steel |
$11.44
|
1 |
|
ships same day |
022 |
172-2036
|
Compression spring |
$12.89
|
2 |
|
usually ships 13-18 days |
023 |
997-2101
|
6 inch cable tie |
$0.99
|
1 |
|
ships same day |
024 |
172-2037
|
Screw 8 x 2 pan head phillips type B |
$11.35
|
1 |
|
usually ships 13-18 days |
025 |
172-1780
|
Handle harness (OBSOLETE) |
$282.48
|
1 |
|
usually ships 1-5 days |
026 |
172-3210
|
Handle weldment (OBSOLETE) |
$338.11
|
1 |
|
usually ships 1-5 days |
027 |
172-8257
|
Snap switch |
$58.41
|
1 |
(Brush) |
usually ships 13-18 days |
028 |
172-2038
|
Cam controller |
$16.20
|
2 |
|
ships same day |
029 |
172-2039
|
5K potentiometer |
$66.03
|
1 |
(Throttle) |
ships same day |
030 |
172-2040
|
Front handle (OBSOLETE) |
$58.95
|
1 |
|
usually ships 13-18 days |
031 |
172-3211
|
Back molded paddle |
$45.20
|
1 |
|
usually ships 1-5 days |
032 |
172-2043
|
Sleeve |
$28.94
|
1 |
|
usually ships 13-18 days |
033 |
172-2045
|
Washer plastic |
$11.35
|
3 |
|
usually ships 13-18 days |
034 |
272-1353
|
Clamp |
$12.89
|
2 |
|
usually ships 13-18 days |
035 |
172-2047
|
U clamp |
$11.35
|
1 |
|
ships same day |
036 |
272-1505
|
32 inch Cylindrical deck assembly (OBSOLETE) |
$7,665.79
|
4 |
|
usually ships 1-5 days |