| # | Part | Description | Price | Req | Notes | Availability |
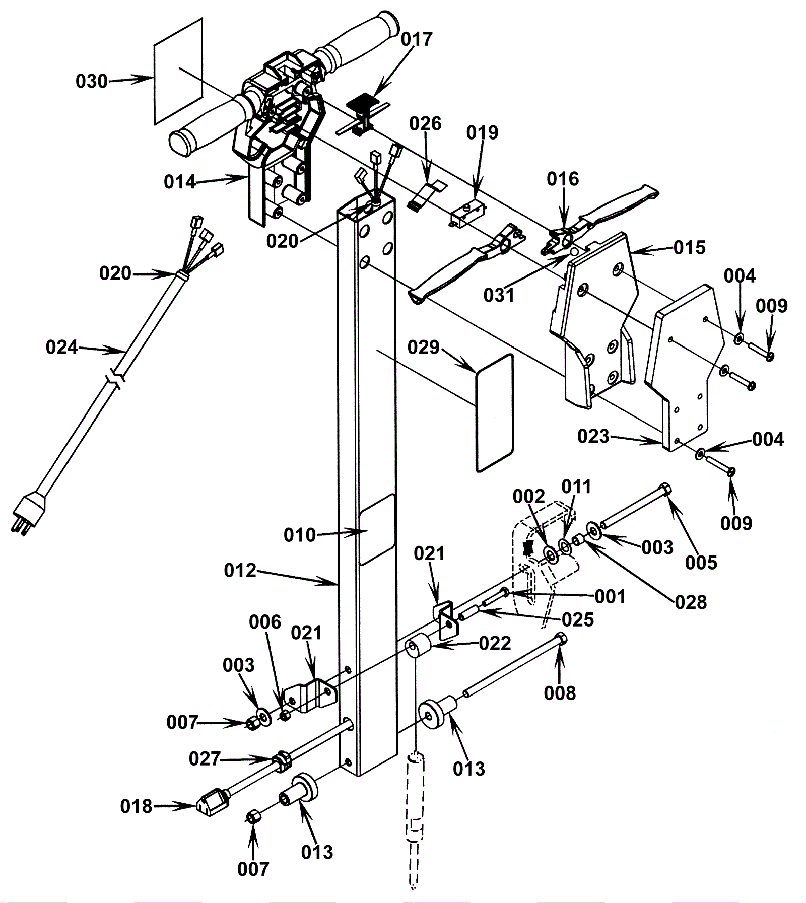
001 |
999-1260
|
Screw 1/4-20 x 1 1/2 hex cap stainless steel |
$0.99
|
1 |
|
ships same day |
002 |
172-4548
|
Washer 33/64 x 15/16 x 1/16 flat |
$11.35
|
1 |
|
usually ships 13-18 days |
003 |
999-0120
|
Washer 3/8 SAE flat |
$0.99
|
2 |
|
ships same day |
004 |
999-0123
|
Washer 1/4 SAE flat zinc plated |
$0.99
|
6 |
(before SN 1401239) |
ships same day |
005 |
999-1327
|
Screw 3/8-16 x 4 1/4 hex head |
$3.06
|
1 |
|
ships same day |
006 |
999-0294
|
Nut 1/4-20 hex nylon lock type NE stainless steel |
$1.18
|
1 |
|
ships same day |
007 |
999-0188
|
Nut 3/8-16 nylon insert lock zinc plated |
$0.99
|
2 |
|
ships same day |
008 |
472-3556
|
SCR-HEX SS 3/8-16 X 7.0 |
$11.35
|
1 |
|
usually ships 13-18 days |
009a |
999-0523
|
Screw 1/4-20 x 1 1/2 pan head phillips stainless steel |
$0.99
|
6 |
(before SN 1401239) |
ships same day |
009b |
999-1030
|
Screw 1/4-20 x 2 pan head phillips stainless steel |
$2.05
|
6 |
(after SN 1401238) |
ships same day |
010 |
172-3086
|
Latch decal (OBSOLETE) |
$11.19
|
1 |
|
usually ships 1-5 days |
011 |
172-4550
|
Washer 33/64 x 1/64 bowed |
$12.89
|
1 |
|
usually ships 13-18 days |
012a |
172-0603
|
Handle tube |
$204.05
|
1 |
(before SN 1401239) |
usually ships 13-18 days |
012b |
172-3087
|
Handle tube |
$105.59
|
1 |
(after SN 1401238) |
ships same day |
013 |
172-3088
|
Bushing |
$32.26
|
2 |
|
usually ships 13-18 days |
014 |
172-3089
|
Handle (OBSOLETE) |
$214.91
|
1 |
|
usually ships 13-18 days |
015 |
172-3090
|
Handle cover (OBSOLETE) |
$82.93
|
1 |
|
usually ships 13-18 days |
016 |
172-4663
|
Handle lever (OBSOLETE) |
$35.60
|
2 |
|
usually ships 13-18 days |
017 |
172-3091
|
Locking button |
$16.20
|
1 |
|
ships same day |
018 |
172-3092
|
Cord assembly 14/3 42 inch |
$55.14
|
1 |
|
usually ships 13-18 days |
019 |
172-3093
|
Switch |
$16.20
|
1 |
|
ships same day |
020 |
997-2101
|
6 inch cable tie |
$0.99
|
1 |
|
ships same day |
021 |
172-3094
|
Bracket |
$33.78
|
2 |
|
usually ships 1-5 days |
022 |
172-3095
|
Cylinder mount |
$41.15
|
1 |
|
usually ships 1-5 days |
023 |
172-3096
|
Handle weight |
$86.27
|
1 |
|
usually ships 13-18 days |
024a |
172-3098
|
14/3 cord set 75 feet |
$291.90
|
1 |
(OEM) |
usually ships 13-18 days |
024b |
991-5005
|
14/3 replacement power cord 50 foot (yellow) |
$108.51
|
1 |
(NON-OEM) (does not include strain relief) |
ships same day |
024c |
991-5001
|
14/3 extension cord 50 foot (yellow) |
$103.23
|
1 |
(NON-OEM) |
ships same day |
025 |
172-3099
|
Bushing |
$25.96
|
1 |
|
usually ships 1-5 days |
026 |
172-3100
|
Spring plate |
$9.70
|
1 |
|
ships same day |
027 |
172-4595
|
Strain relief (OBSOLETE) |
$18.39
|
1 |
|
usually ships 13-18 days |
028 |
172-3101
|
Bushing |
$41.00
|
1 |
|
usually ships 1-5 days |
029 |
172-5020
|
Warning decal (OBSOLETE) |
$14.95
|
1 |
|
usually ships 13-18 days |
030 |
172-3102
|
Logo decal (OBSOLETE) |
$14.95
|
1 |
|
usually ships 1-5 days |
031 |
172-3103
|
1/4 ball bearing stainless steel |
$14.18
|
1 |
|
usually ships 13-18 days |