| # | Part | Description | Price | Req | Notes | Availability |
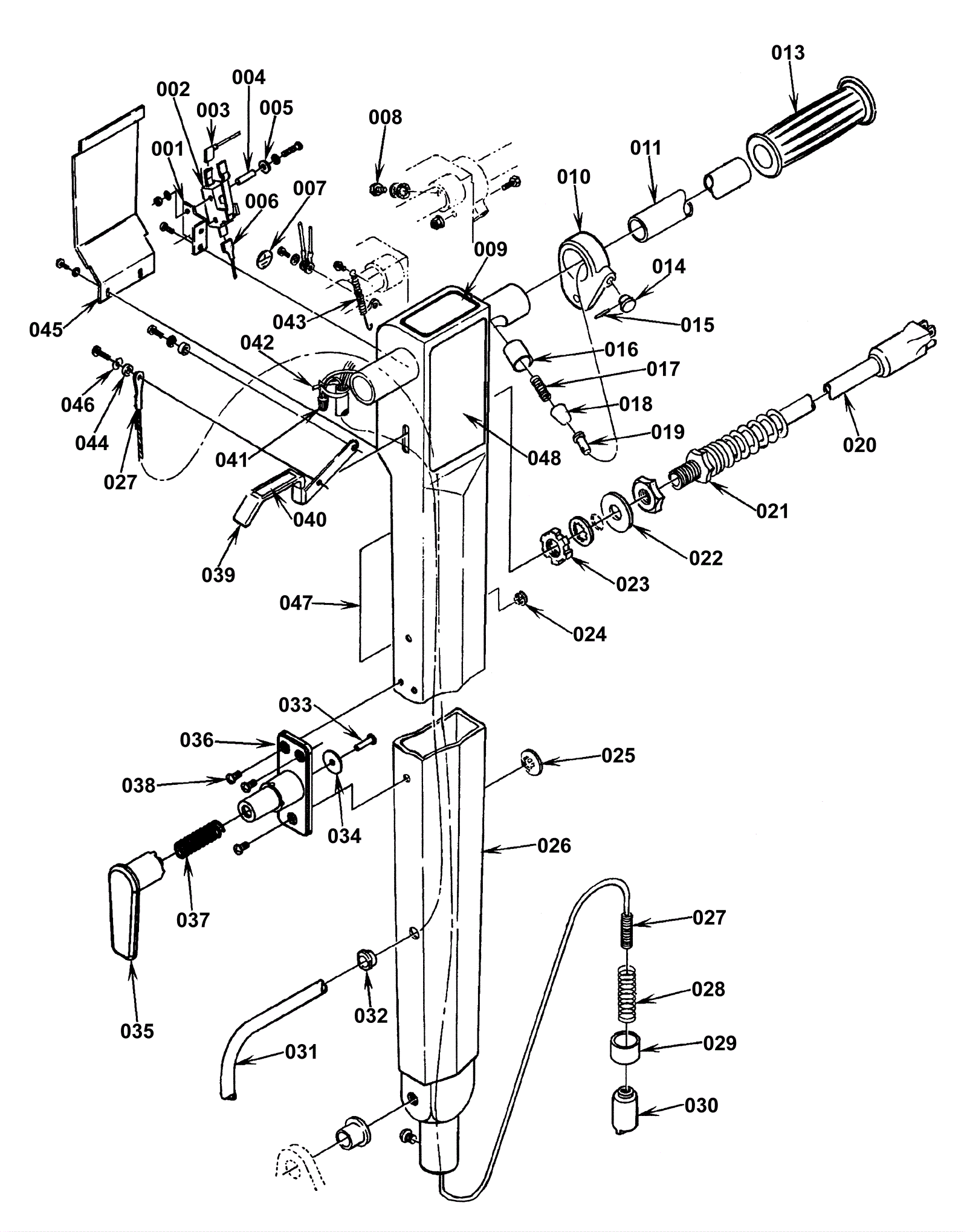
001 |
172-4507
|
Bracket |
$17.06
|
1 |
|
usually ships 13-18 days |
002a |
172-0270
|
Snap switch (OBSOLETE) |
$47.30
|
1 |
|
usually ships 13-18 days |
002b |
172-4628
|
Snap switch (OBSOLETE) (SEE NOTE) |
$42.39
|
1 |
|
usually ships 13-18 days |
003 |
172-4509
|
Insulator flag |
$13.40
|
1 |
|
usually ships 1-5 days |
004 |
172-2869
|
Sleeve (OBSOLETE) |
$5.94
|
2 |
|
usually ships 1-5 days |
005 |
272-1479
|
Washer fiber |
$8.80
|
2 |
|
usually ships 1-5 days |
006 |
172-4510
|
Insulator flag (OBSOLETE) |
$5.94
|
1 |
|
usually ships 1-5 days |
007 |
172-5024
|
Ground symbol decal |
$12.31
|
1 |
|
usually ships 1-5 days |
008 |
172-4505
|
Screw |
$8.83
|
1 |
|
usually ships 13-18 days |
009 |
172-5023
|
Warning decal (OBSOLETE) |
$14.95
|
1 |
|
usually ships 1-5 days |
010b |
172-4524
|
Collar assembly |
$88.92
|
1 |
|
usually ships 1-5 days |
011a |
172-4531
|
Handle tube (silver) |
$142.45
|
1 |
|
usually ships 1-5 days |
013a |
164-0304
|
Handle grip |
$71.48
|
2 |
|
usually ships 1-5 days |
013b |
172-2849
|
Handle grip (OBSOLETE) |
$9.13
|
2 |
|
usually ships 13-18 days |
013c |
991-8571
|
Handle grip |
$4.04
|
2 |
(NON-OEM) |
usually ships 18-24 days |
014 |
172-4526
|
Knob |
$12.31
|
1 |
|
usually ships 1-5 days |
015 |
172-4527
|
Spring pin |
$12.31
|
1 |
|
usually ships 1-5 days |
016 |
172-4529
|
Bushing |
$91.10
|
1 |
|
usually ships 13-18 days |
017 |
172-4632
|
Spring |
$10.85
|
1 |
|
usually ships 13-18 days |
018 |
172-3031
|
Plunger |
$67.10
|
1 |
|
usually ships 1-5 days |
019 |
172-4630
|
Pin |
$35.09
|
1 |
|
usually ships 13-18 days |
020a |
172-4533
|
14/3 power cord 50 foot |
$233.93
|
1 |
|
usually ships 13-18 days |
020b |
172-3032
|
Cord set 115v (75ft) (OBSOLETE) |
$290.84
|
1 |
|
usually ships 1-5 days |
020c |
N/A
|
Not available |
Call for price
|
1 |
(230v cordset) |
usually ships 3-26 days |
020d |
991-5005
|
14/3 replacement power cord 50 foot (yellow) |
$108.51
|
1 |
(NON-OEM) (does not include strain relief) |
ships same day |
020e |
991-5001
|
14/3 extension cord 50 foot (yellow) |
$103.23
|
1 |
(NON-OEM) |
ships same day |
021a |
172-4534
|
Strain relief |
$74.21
|
1 |
|
usually ships 13-18 days |
021b |
174-3053
|
Strain relief |
$10.34
|
1 |
|
usually ships 9-13 days |
022 |
172-4535
|
Washer flat steel |
$33.00
|
1 |
|
usually ships 1-5 days |
023a |
172-4536
|
Nut 1/2-14 conduit lock |
$12.31
|
1 |
|
usually ships 13-18 days |
024 |
172-4518
|
Button plug |
$10.23
|
4 |
|
usually ships 1-5 days |
025 |
172-4516
|
Plug button .656 (OBSOLETE) |
$6.89
|
1 |
|
usually ships 1-5 days |
026a |
172-3034
|
Handle (OBSOLETE) |
$760.43
|
1 |
|
usually ships 1-5 days |
026b |
172-3035
|
Handle assembly 115V (OBSOLETE) |
$1,328.23
|
1 |
|
usually ships 1-5 days |
026c |
172-3036
|
Handle assembly 230V (OBSOLETE) |
$854.17
|
1 |
|
usually ships 1-5 days |
027 |
172-4504
|
Wire rope assembly |
$63.07
|
1 |
|
usually ships 13-18 days |
028 |
172-4521
|
Spring com .75 x 1.68 |
$13.76
|
1 |
|
usually ships 1-5 days |
029 |
172-4636
|
Bushing |
$14.47
|
1 |
|
usually ships 1-5 days |
030 |
172-4522
|
Plunger |
$108.11
|
1 |
|
usually ships 13-18 days |
031a |
172-3037
|
Cord assembly 115V (OBSOLETE) |
$51.29
|
1 |
|
usually ships 13-18 days |
032 |
172-4517
|
Strain relief (OBSOLETE) |
$8.03
|
1 |
|
usually ships 1-5 days |
033 |
999-0898
|
Screw 10-16 x 3/4 pan head phillips stainless steel type B |
$0.99
|
1 |
|
ships same day |
034 |
999-0588
|
Washer 7/8 flat stainless steel |
$11.44
|
1 |
|
ships same day |
035 |
172-4638
|
Cord hook assembly |
$58.62
|
1 |
This part is no longer available seperately, must purchase the entire assembly. |
usually ships 13-18 days |
036 |
172-4638
|
Cord hook assembly |
$58.62
|
1 |
This part is no longer available seperately, must purchase the entire assembly. |
usually ships 13-18 days |
037 |
172-4641
|
Spring |
$8.80
|
1 |
|
usually ships 1-5 days |
038 |
999-0409
|
Screw 10-24 x 3/8 pan head slotted zinc plated |
$0.99
|
3 |
|
ships same day |
040 |
172-5019
|
Handle decal |
$19.45
|
1 |
|
usually ships 13-18 days |
041 |
172-4513
|
Wire connector |
$11.69
|
1 |
|
usually ships 1-5 days |
042 |
997-2101
|
6 inch cable tie |
$0.99
|
1 |
|
ships same day |
043 |
172-4506
|
Extension spring (OBSOLETE) |
$18.39
|
1 |
|
usually ships 13-18 days |
044 |
172-4064
|
Bushing |
$13.76
|
2 |
|
usually ships 13-18 days |
045 |
172-4511
|
Cover |
$30.40
|
1 |
|
usually ships 13-18 days |
046 |
172-4512
|
Washer 17/64 x 1/2 bowed |
$10.85
|
1 |
|
usually ships 1-5 days |
047 |
172-5020
|
Warning decal (OBSOLETE) |
$14.95
|
1 |
|
usually ships 13-18 days |
048 |
172-3040
|
Logo decal (OBSOLETE) |
$14.95
|
1 |
|
usually ships 13-18 days |
N/S |
172-4094
|
Terminal block |
$9.26
|
1 |
|
usually ships 13-18 days |
N/S |
172-4635
|
Brass insert (OBSOLETE) |
$12.31
|
1 |
|
usually ships 13-18 days |
N/S |
172-4638
|
Cord hook assembly |
$58.62
|
1 |
(includes items 33 - 37) |
usually ships 13-18 days |