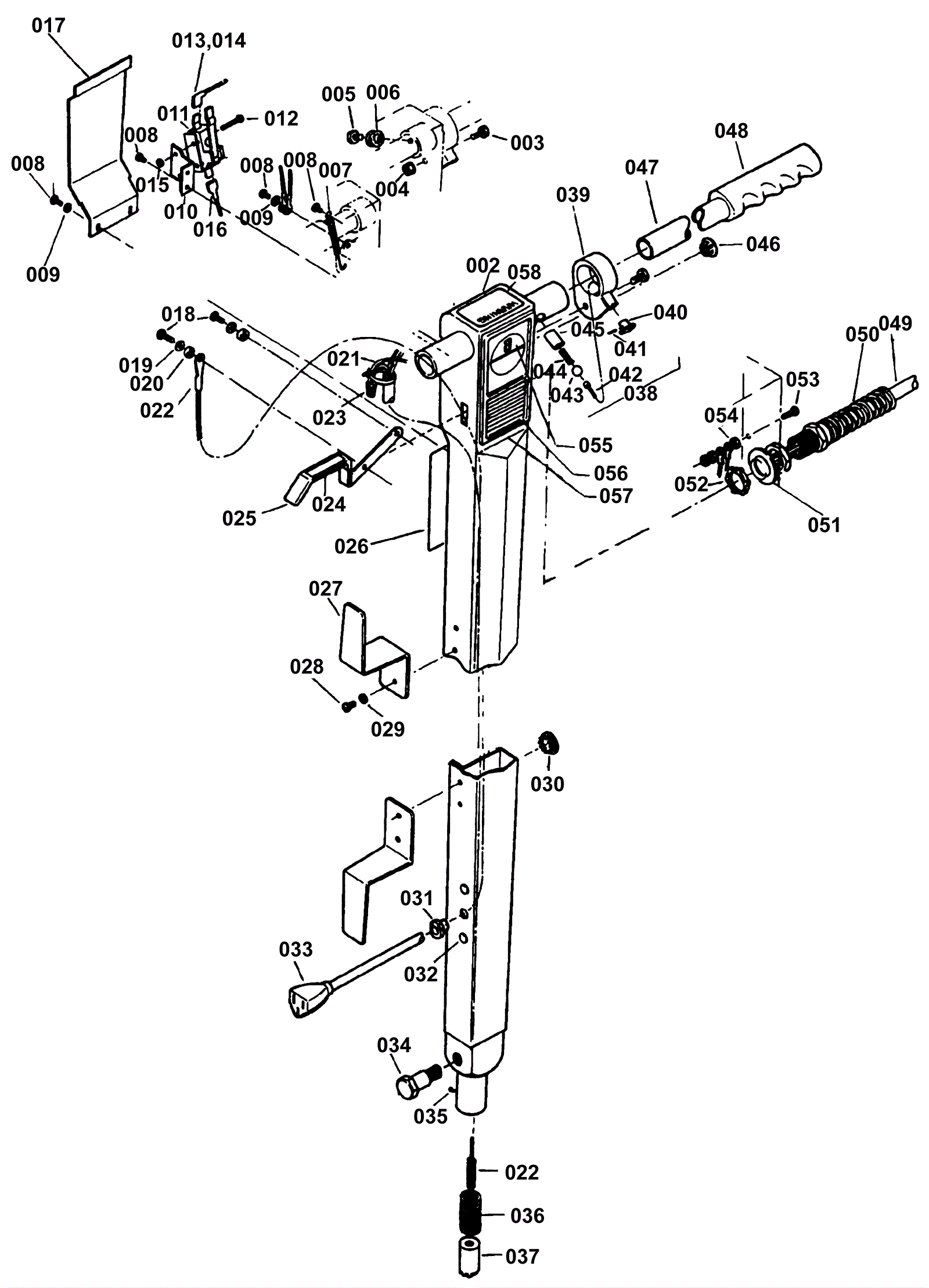
# | Part | Description | Price | Req | Notes | Availability |
001 |
172-4501
|
Handle assembly (OBSOLETE) |
$1,071.58
|
1 |
|
usually ships 1-5 days |
002 |
172-4503
|
Handle replacement kit (OBSOLETE) |
$525.58
|
1 |
|
usually ships 1-5 days |
003 |
999-0018
|
Bolt 1/4-20 x 1/2 hex cap grade 5 zinc plated |
$0.99
|
1 |
|
ships same day |
004 |
999-0152
|
Nut 1/4-20 nylon insert lock zinc plated |
$0.99
|
1 |
|
ships same day |
005 |
172-4505
|
Screw |
$8.83
|
1 |
|
usually ships 13-18 days |
006 |
999-0028
|
Washer 5/16 split lock plain finish |
$0.99
|
2 |
|
ships same day |
007 |
172-4506
|
Extension spring (OBSOLETE) |
$18.39
|
1 |
|
usually ships 13-18 days |
008 |
999-0317
|
Screw 8-32 x 1/4 pan head slotted zinc plated |
$0.99
|
2 |
|
ships same day |
009 |
999-0150
|
Washer #8 medium split lock |
$0.99
|
2 |
|
ships same day |
010 |
172-4507
|
Bracket |
$17.06
|
1 |
|
usually ships 13-18 days |
011 |
172-0270
|
Snap switch (OBSOLETE) |
$47.30
|
1 |
|
usually ships 13-18 days |
012 |
999-0407
|
Screw 4-40 x 7/8 pan head slotted zinc plated |
$0.99
|
2 |
|
ships same day |
013 |
172-4508
|
Tab receptacle |
$10.23
|
1 |
|
usually ships 1-5 days |
014 |
172-4509
|
Insulator flag |
$13.40
|
1 |
|
usually ships 1-5 days |
015 |
999-0408
|
Nut 4-40 plain machine screw |
$0.99
|
2 |
|
ships same day |
016 |
172-4510
|
Insulator flag (OBSOLETE) |
$5.94
|
1 |
|
usually ships 1-5 days |
017 |
172-4511
|
Cover |
$30.40
|
1 |
|
usually ships 13-18 days |
018 |
999-0409
|
Screw 10-24 x 3/8 pan head slotted zinc plated |
$0.99
|
2 |
|
ships same day |
019 |
172-4512
|
Washer 17/64 x 1/2 bowed |
$10.85
|
1 |
|
usually ships 1-5 days |
020 |
172-4064
|
Bushing |
$13.76
|
2 |
|
usually ships 13-18 days |
021 |
997-2101
|
6 inch cable tie |
$0.99
|
1 |
|
ships same day |
022 |
172-4504
|
Wire rope assembly |
$63.07
|
1 |
|
usually ships 13-18 days |
023 |
172-4513
|
Wire connector |
$11.69
|
1 |
|
usually ships 1-5 days |
024 |
172-5019
|
Handle decal |
$19.45
|
1 |
|
usually ships 13-18 days |
025 |
172-4514
|
Lever (OBSOLETE) |
$59.92
|
1 |
|
usually ships 13-18 days |
026 |
172-5020
|
Warning decal (OBSOLETE) |
$14.95
|
1 |
|
usually ships 13-18 days |
027 |
172-4515
|
Cord hook |
$30.40
|
2 |
|
usually ships 1-5 days |
028 |
999-0321
|
Screw 10-32 x 3/8 pan head slotted zinc plated |
$0.99
|
4 |
|
ships same day |
029 |
999-0053
|
Washer #10 split lock plain finish |
$0.99
|
4 |
|
ships same day |
030 |
172-4516
|
Plug button .656 (OBSOLETE) |
$6.89
|
1 |
|
usually ships 1-5 days |
031 |
172-4517
|
Strain relief (OBSOLETE) |
$8.03
|
1 |
|
usually ships 1-5 days |
032 |
172-4518
|
Button plug |
$10.23
|
3 |
|
usually ships 1-5 days |
033 |
172-4519
|
Cord set |
$39.30
|
1 |
|
usually ships 13-18 days |
034 |
172-4520
|
Shoulder bolt |
$14.73
|
2 |
|
usually ships 13-18 days |
035 |
999-0480
|
Screw 4-40 x 1/4 pan head slotted zinc plated |
$0.99
|
1 |
|
ships same day |
036 |
172-4521
|
Spring com .75 x 1.68 |
$13.76
|
1 |
|
usually ships 1-5 days |
037 |
172-4522
|
Plunger |
$108.11
|
1 |
|
usually ships 13-18 days |
038 |
172-4523
|
Saftey lock assembly |
$181.03
|
1 |
|
usually ships 1-5 days |
039 |
172-4524
|
Collar assembly |
$88.92
|
1 |
|
usually ships 1-5 days |
040 |
172-4525
|
Collar |
$24.96
|
1 |
|
usually ships 1-5 days |
041 |
172-4526
|
Knob |
$12.31
|
1 |
|
usually ships 1-5 days |
042 |
172-4527
|
Spring pin |
$12.31
|
1 |
|
usually ships 1-5 days |
043 |
172-4523
|
Saftey lock assembly |
$181.03
|
1 |
|
usually ships 1-5 days |
044 |
172-4528
|
Spring |
$13.76
|
1 |
|
usually ships 13-18 days |
045 |
172-4529
|
Bushing |
$91.10
|
1 |
|
usually ships 13-18 days |
046 |
172-4530
|
Plug button (OBSOLETE) |
$5.94
|
1 |
|
usually ships 1-5 days |
047 |
172-4531
|
Handle tube (silver) |
$142.45
|
1 |
|
usually ships 1-5 days |
048 |
172-4532
|
Handle grip (OBSOLETE) |
$18.04
|
2 |
|
usually ships 13-18 days |
049a |
172-4533
|
14/3 power cord 50 foot |
$233.93
|
1 |
|
usually ships 13-18 days |
049b |
991-5005
|
14/3 replacement power cord 50 foot (yellow) |
$108.51
|
1 |
(NON-OEM) |
ships same day |
050 |
172-4534
|
Strain relief |
$74.21
|
1 |
|
usually ships 13-18 days |
051 |
172-4535
|
Washer flat steel |
$33.00
|
1 |
|
usually ships 1-5 days |
052 |
172-4536
|
Nut 1/2-14 conduit lock |
$12.31
|
1 |
|
usually ships 13-18 days |
053 |
999-0438
|
Screw 8-32 x 5/8 pan head phillips zinc plated |
$0.99
|
1 |
|
ships same day |
054 |
999-0308
|
Nut 8-32 plain |
$0.99
|
3 |
|
ships same day |
055 |
172-3040
|
Logo decal (OBSOLETE) |
$14.95
|
1 |
|
usually ships 13-18 days |
056 |
172-3040
|
Logo decal (OBSOLETE) |
$14.95
|
1 |
|
usually ships 13-18 days |
057 |
N/A
|
Not available |
Call for price
|
1 |
(Not Available) Plate Decal |
usually ships 3-26 days |
058 |
172-5023
|
Warning decal (OBSOLETE) |
$14.95
|
1 |
|
usually ships 1-5 days |
N/S |
172-4633
|
Bushing |
$44.99
|
1 |
fits over plunger |
usually ships 13-18 days |