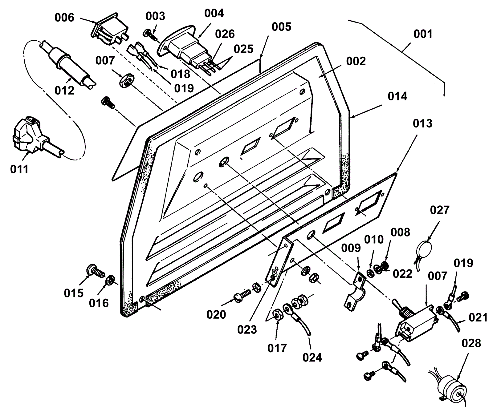
Panel Assembly
Click to enlarge