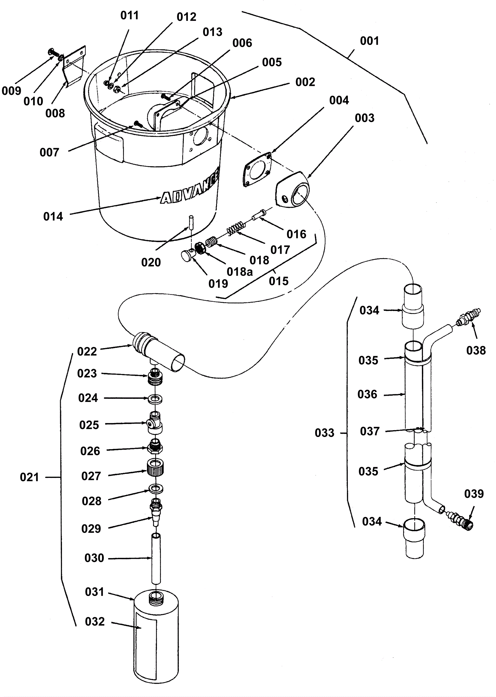
Pick Up Tank Assembly
Click to enlarge