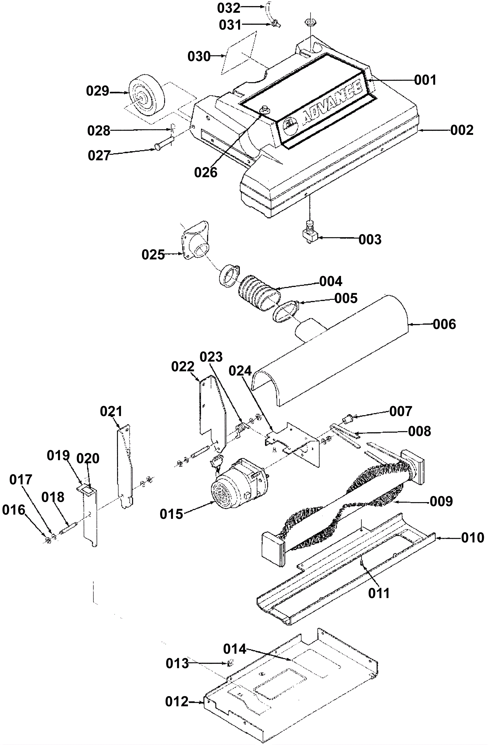
Base Assembly
Click to enlarge