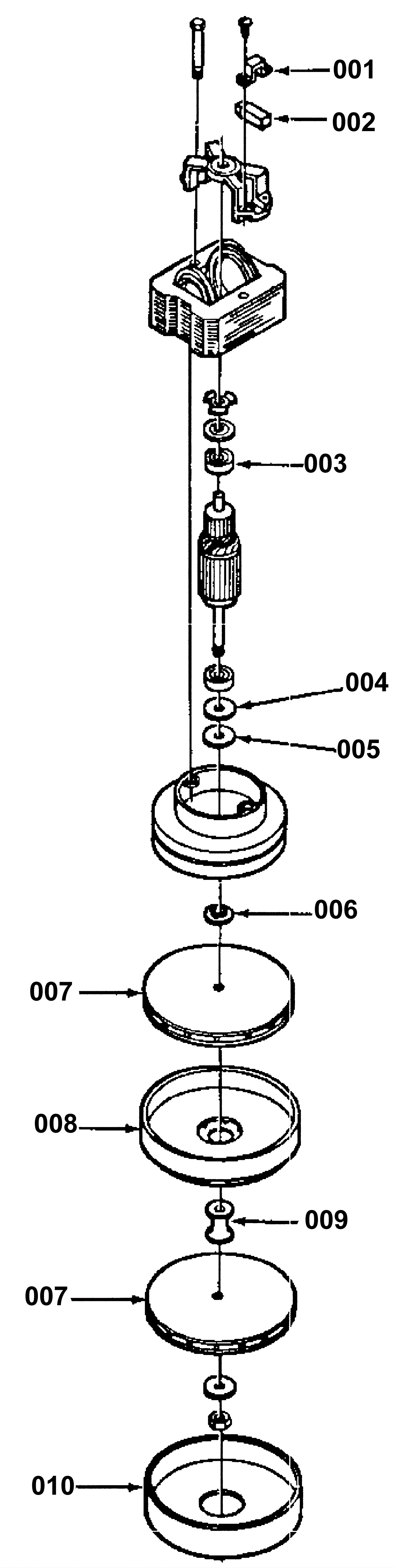
Vacuum Motors
Click to enlarge