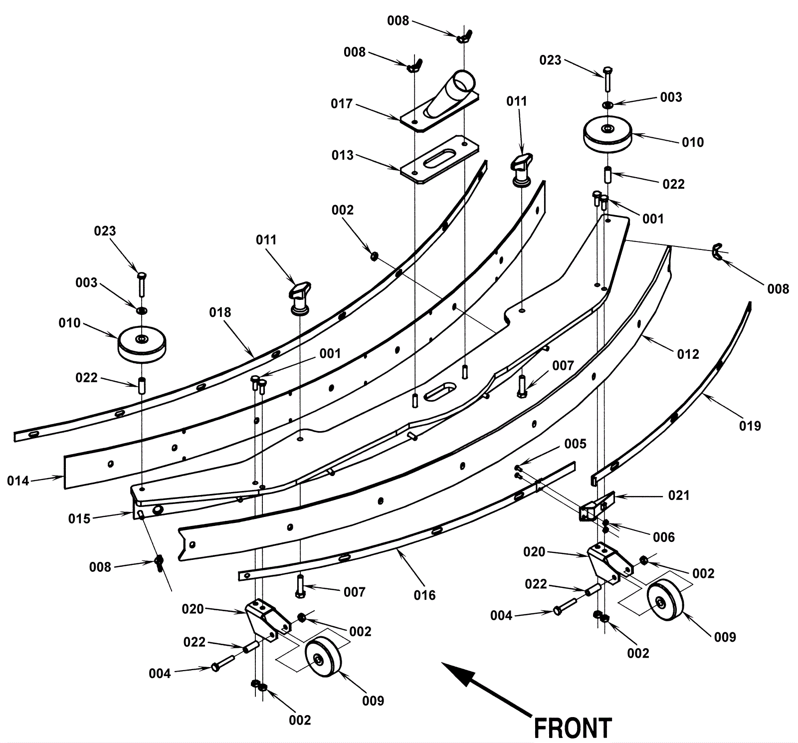
Squeegee Assembly-1
Click to enlarge