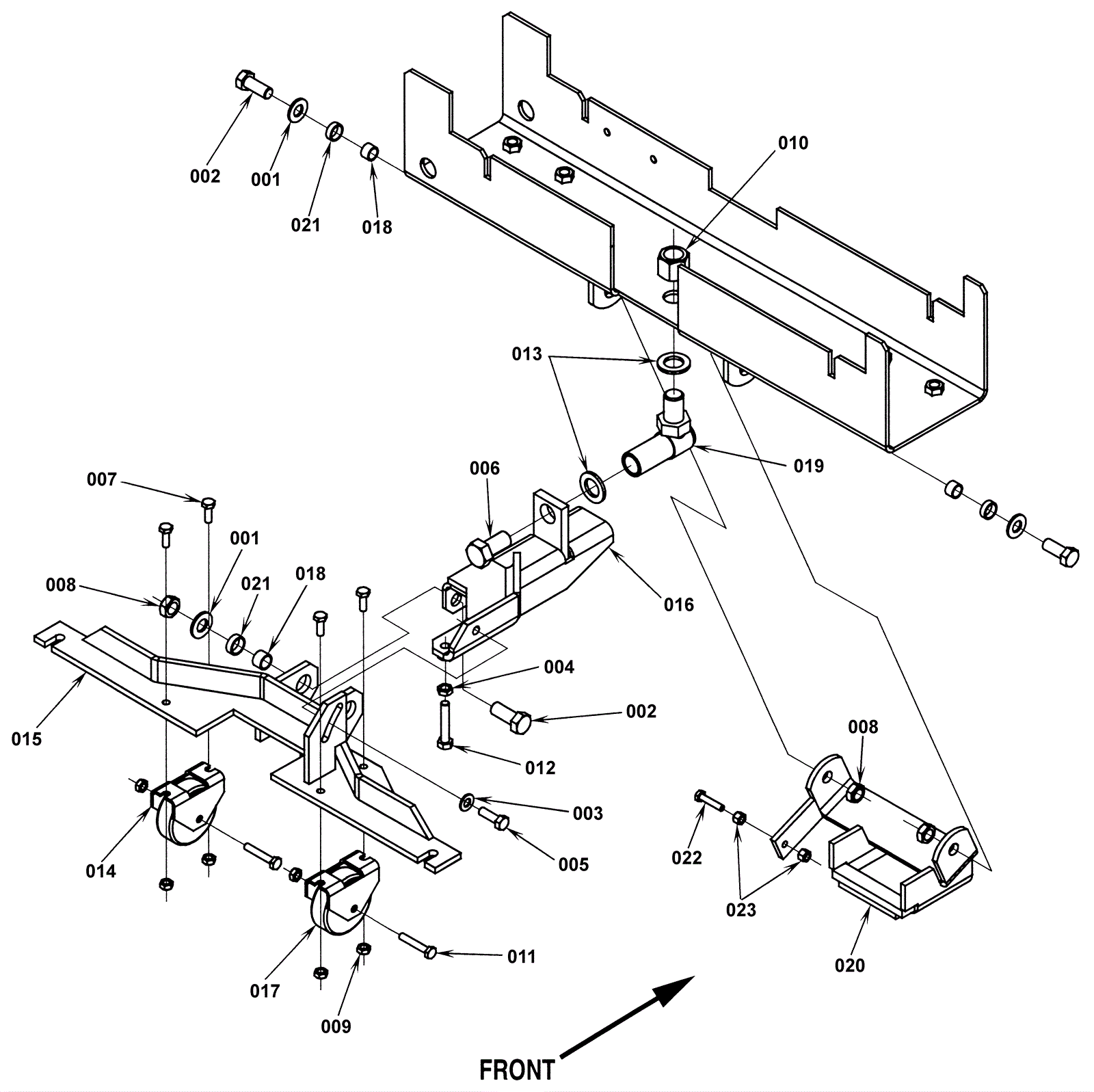
Squeegee Mount Assembly-2
Click to enlarge