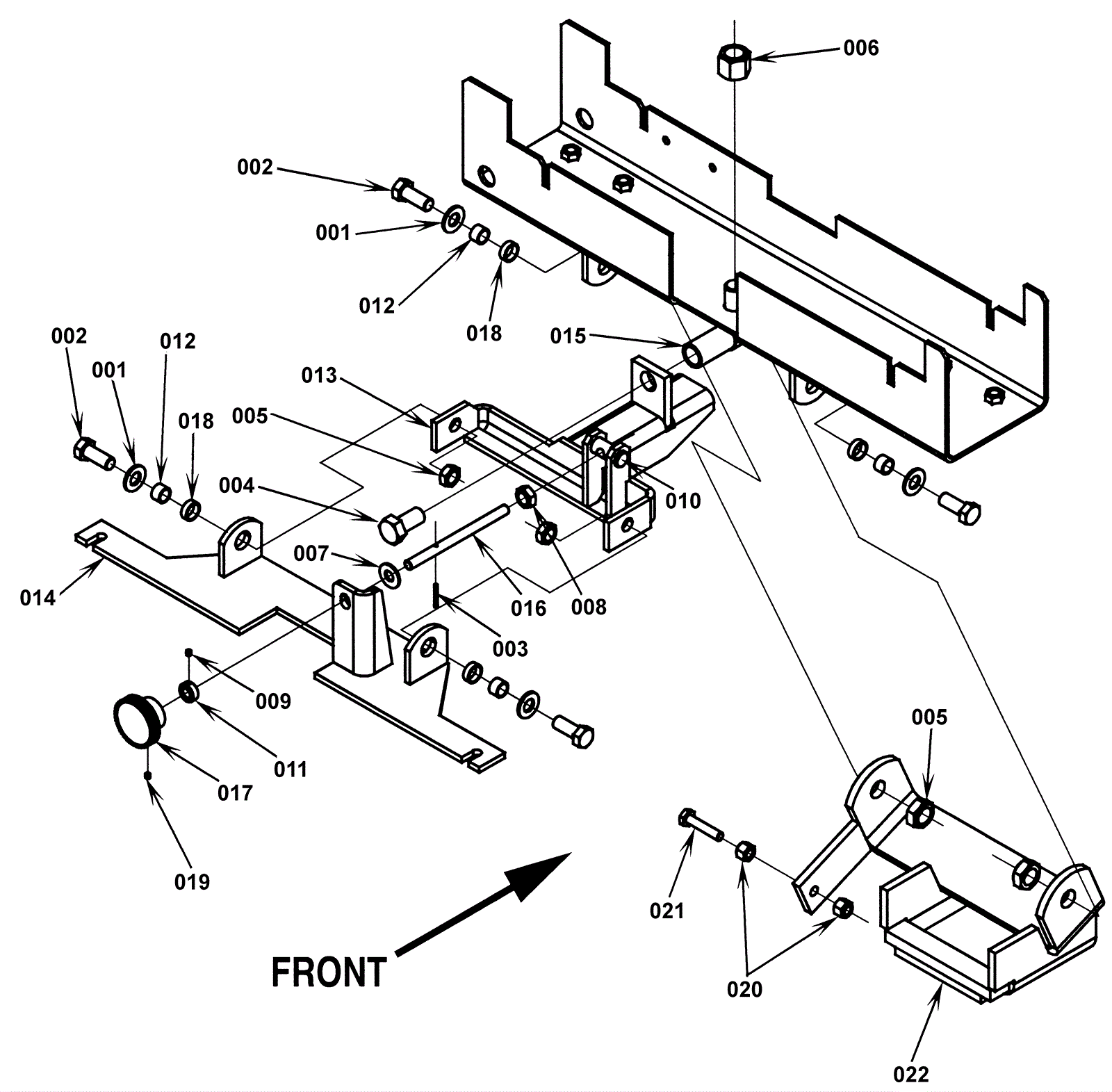
Squeegee Mount Assembly-1
Click to enlarge