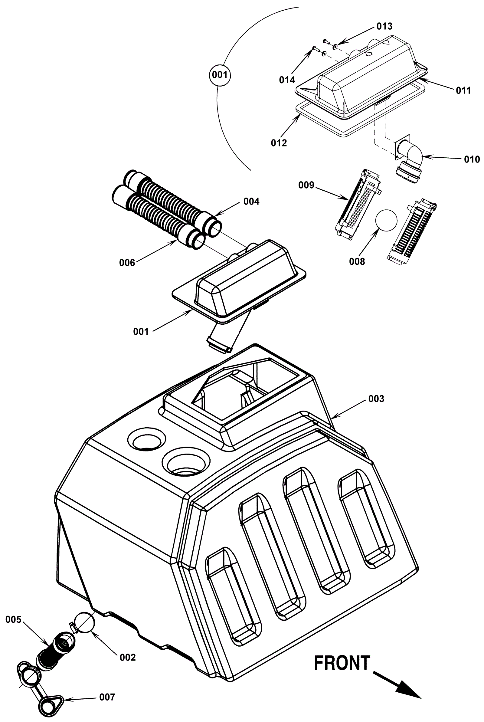
Recovery Tank System
Click to enlarge