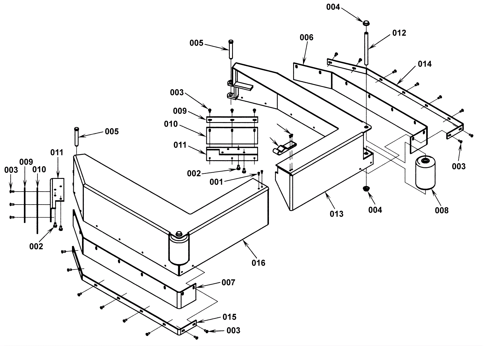
Skirt System
Click to enlarge