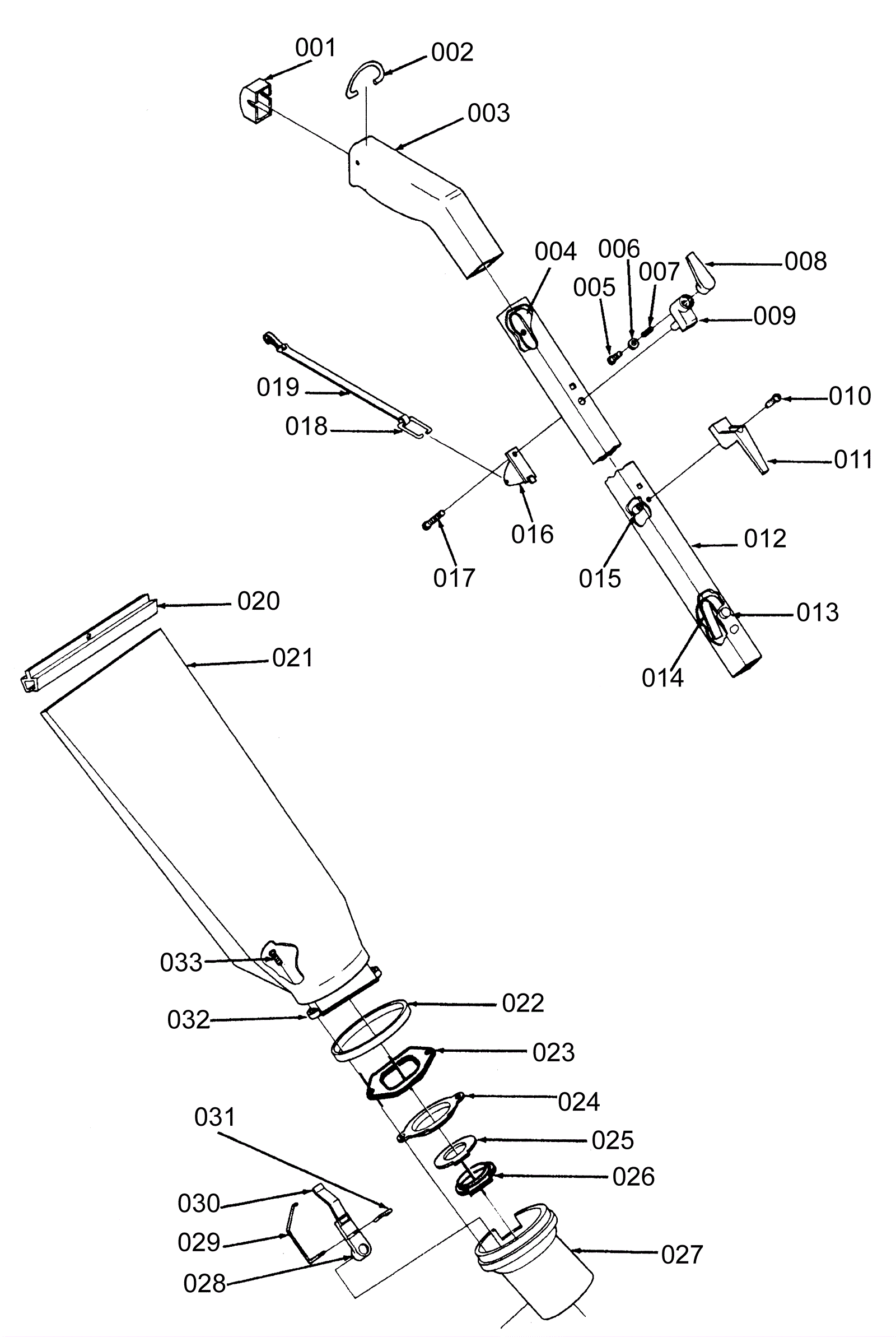
Handle and Bag Assembly
Click to enlarge