| # | Part | Description | Price | Req | Notes | Availability | 
|---|
          
            
            
                
                  
                  
                  
				       
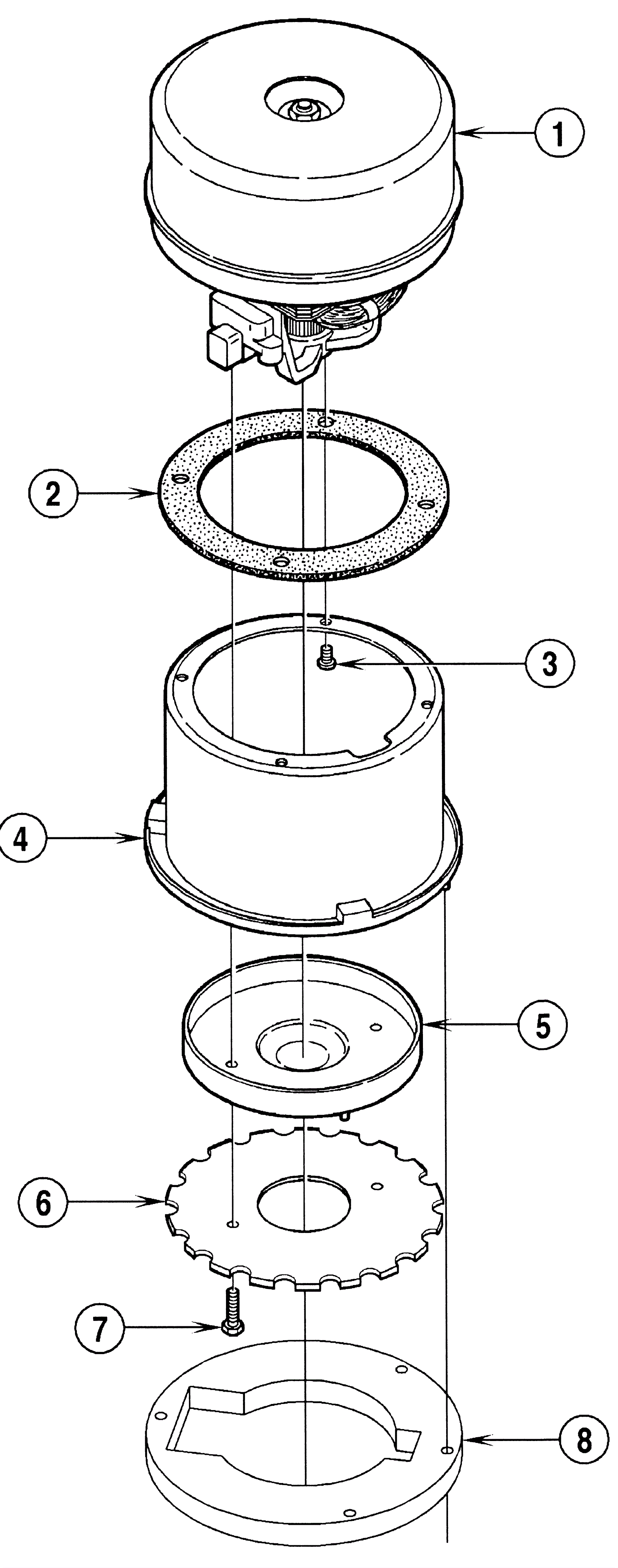
				      000a | N/A | Not available | Call for price | 1 | (Vacuum motor assembly) | usually ships 3-26 days | 000b | 272-7028 | Vacuum motor assembly | $710.56 | 1 |  | usually ships 1-5 days | 000c | N/A | Not available | Call for price |  | (Vacuum motor assembly) (Model 20XP) | usually ships 3-26 days | 001a | 991-1205 | 120V 2 stage vacuum motor peripheral | $169.83 | 1 |  | usually ships 18-24 days | 001b | 172-6012 | Carbon brush (pkg of 2) | $16.95 | 1 |  | usually ships 13-18 days | 002 | 172-0351 | Vacuum motor gasket | $12.89 | 1 |  | usually ships 13-18 days | 003 | 999-1152 | Screw 10-24 x 3/8 pan head phillips thread rolling zinc | $0.99 | 4 |  | ships same day | 004a | 272-7044 | Vacuum motor cup | $37.40 | 1 |  | usually ships 1-5 days | 005 | 172-6018 | Inner baffle | $36.85 | 1 |  | usually ships 1-5 days | 006 | 172-6019 | Outer baffle | $33.00 | 1 | Install the lip on outer baffle turned away from the motor. | usually ships 1-5 days | 007a | 172-6243 | Screw 10-24 x 7/8 hex thread form | $12.31 | 2 |  | usually ships 1-5 days | 007b | 999-0006 | Washer 3/16 flat zinc plated | $0.99 | 2 |  | ships same day | 008 | 172-6020 | Cup gasket | $23.10 | 1 |  | usually ships 1-5 days | N/S | 272-7045 | Grommet 5/8 | $9.13 | 1 |  | ships same day | N/S | 997-2101 | 6 inch cable tie | $0.99 | 2 |  | ships same day | N/S | 999-0053 | Washer #10 split lock plain finish | $0.99 | 2 |  | ships same day | N/S | 999-0793 | Screw 10-24 x 3/8 hex washer slot thread cutting zinc | $0.99 | 2 |  | ships same day |