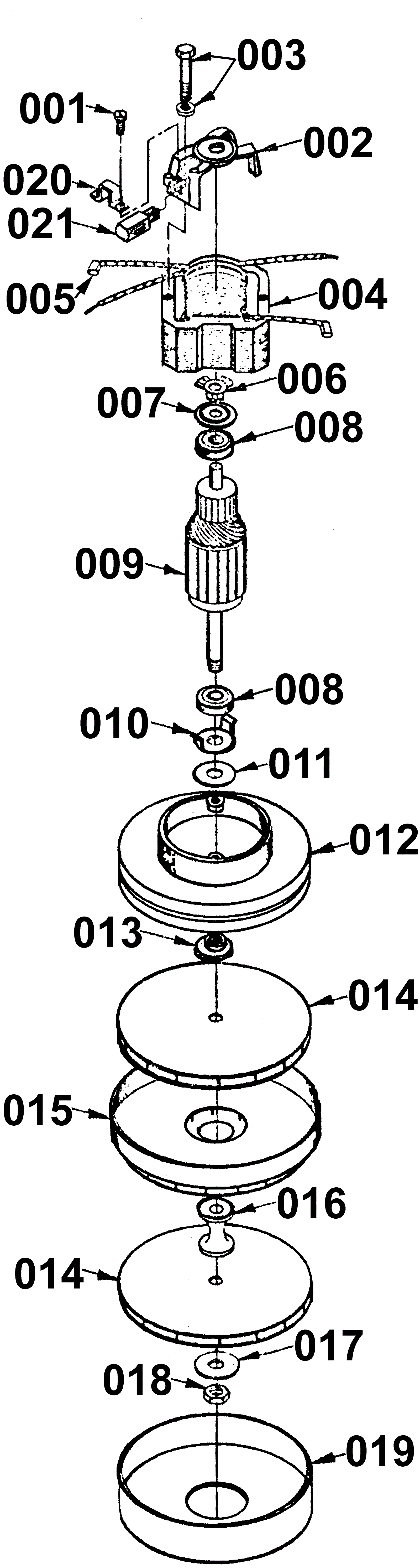
Vacuum Motor Assembly - After SN 970909
Click to enlarge