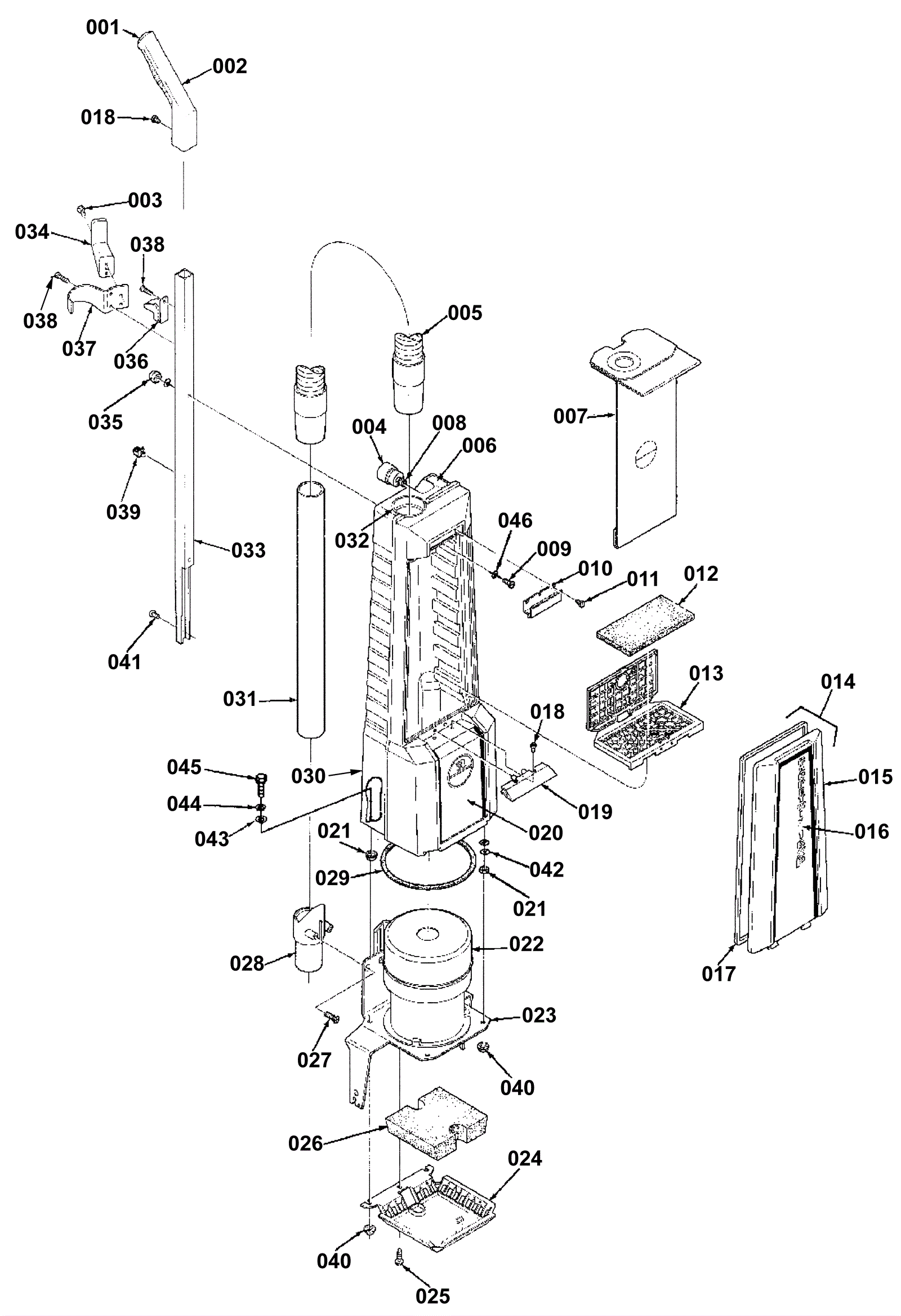
CARPETWIN 16XP SN2
Upper Housing
Click to enlarge
#
Part
Description
Price
Req
Notes
Availability
7
991-9028
Paper vacuum bags (pkg of 10) (OBSOLETE)
$18.40
(NON-OEM)
usually ships 7-9 days