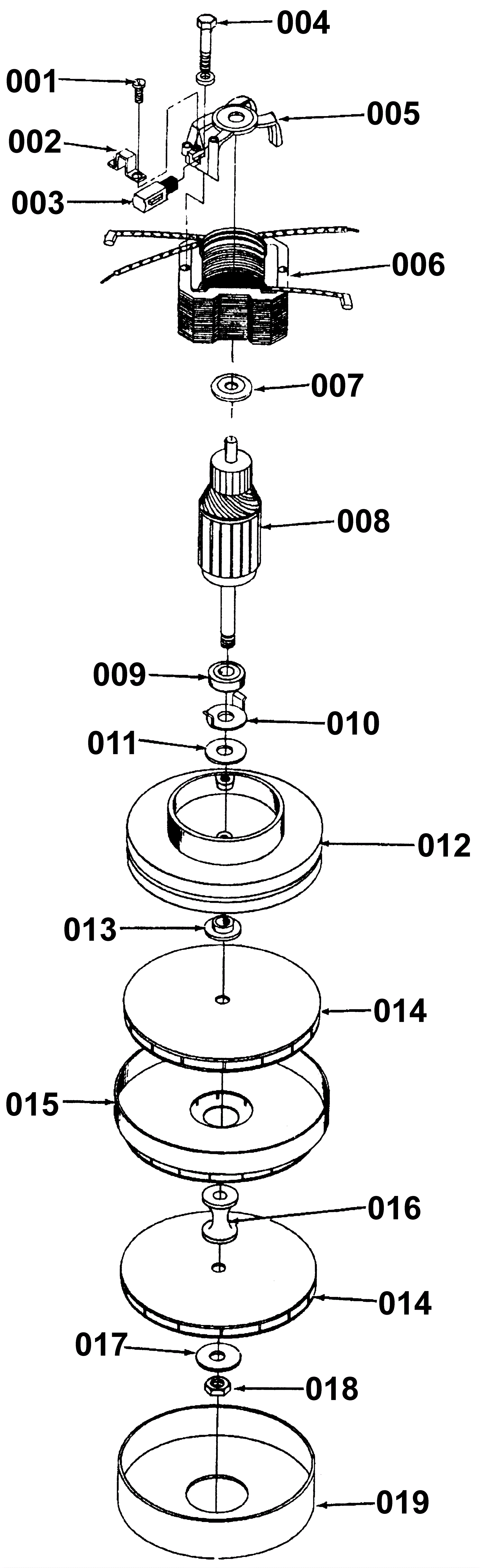
Vacuum Motor Assembly 1
Click to enlarge