| # | Part | Description | Price | Req | Notes | Availability |
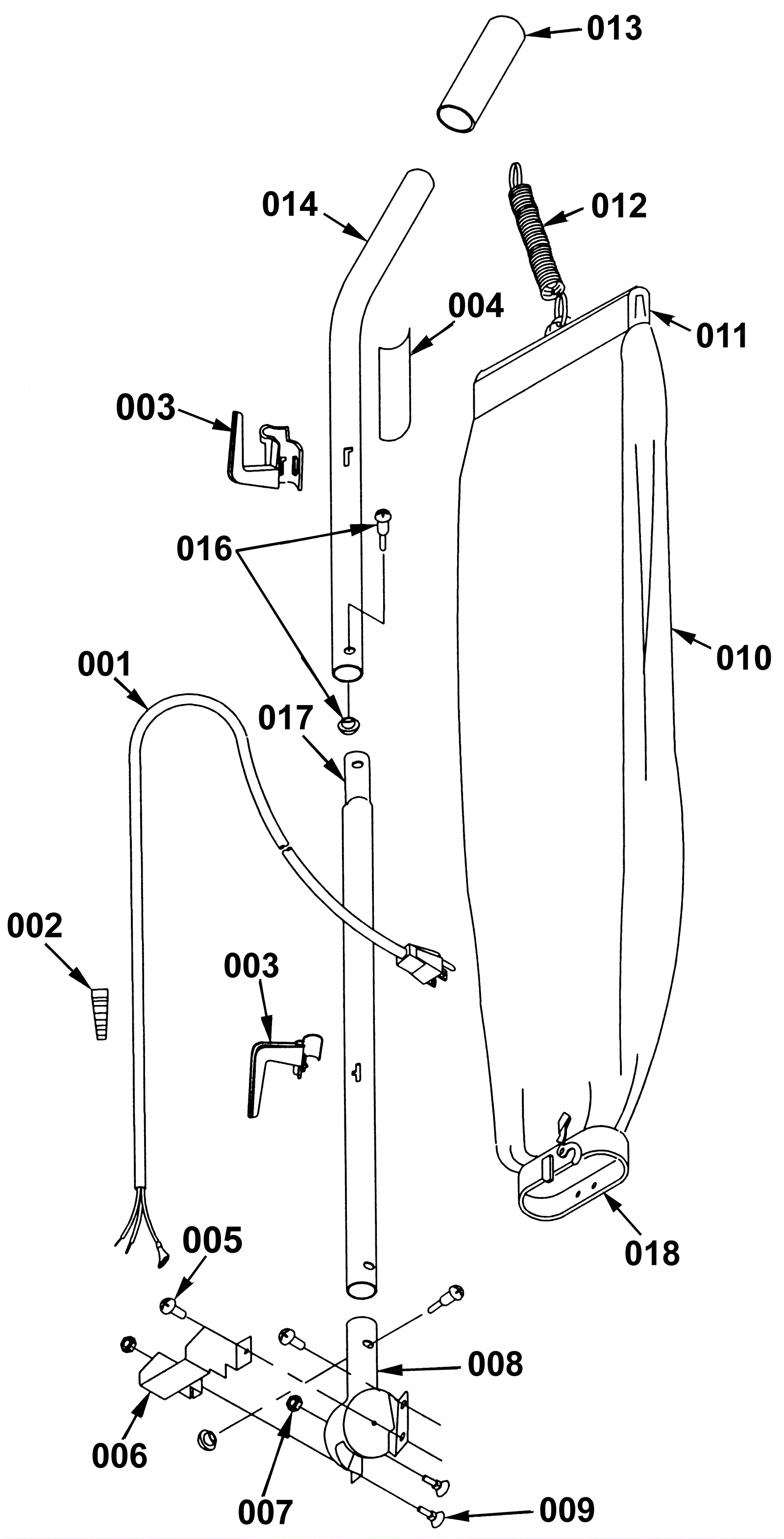
001a |
182-0077
|
18/3 power cord 50 foot (black) |
$33.26
|
1 |
|
usually ships 10-27 days |
001b |
991-5007
|
18/3 replacement power cord 50 foot (black) |
$32.78
|
1 |
|
ships same day |
001c |
991-5008
|
18/3 replacement power cord 50 foot (beige) |
$44.29
|
1 |
(NON-OEM) |
ships same day |
002 |
182-0140
|
Strain relief |
$0.99
|
1 |
|
ships same day |
003 |
182-0100
|
Cord hook set |
$5.50
|
1 |
|
ships same day |
004 |
181-0297
|
Warning decal |
$12.89
|
1 |
|
usually ships 1-5 days |
005 |
182-0008
|
Motor mounting screw |
$4.61
|
2 |
|
ships same day |
006 |
182-0175
|
Handle socket shield |
$2.86
|
1 |
|
usually ships 10-16 days |
007 |
999-0211
|
Nut 5/16-18 hex nylon insert lock zinc plated |
$0.99
|
2 |
|
ships same day |
008 |
182-0079
|
Handle socket assembly |
$10.44
|
1 |
|
ships same day |
009 |
182-0081
|
Bolt 10-24 x 5/8 carriage head |
$5.50
|
2 |
|
ships same day |
010a |
272-5187
|
Cloth bag assembly (black) (sold individually) |
$71.83
|
1 |
|
usually ships 13-18 days |
010b |
272-5193
|
Cloth vacuum bag with zipper (black) |
$87.15
|
1 |
|
usually ships 13-18 days |
010c |
182-0203
|
Paper vacuum bags F & G style (pkg of 5) |
$13.01
|
|
(OEM) |
usually ships 10-16 days |
010d |
991-9013
|
Paper filter bag (pkg of 10) |
$14.49
|
1 |
(NON-OEM) |
ships same day |
010e |
991-9039
|
Paper vacuum bags (pkg of 3) |
$5.28
|
1 |
(NON-OEM) |
ships same day |
010f |
991-9148
|
Paper vacuum bag (pkg of 3) |
$3.15
|
1 |
(NON-OEM) |
usually ships 18-24 days |
010g |
991-9035
|
Cloth shake out bag w/liner (red) (S12 and S16) |
$23.50
|
1 |
(NON-OEM) |
ships same day |
010h |
991-9039
|
Paper vacuum bags (pkg of 3) |
$5.28
|
1 |
(NON-OEM) |
ships same day |
011 |
182-0143
|
Bag clip |
$6.82
|
1 |
|
ships same day |
012 |
182-0144
|
Bag spring |
$5.43
|
1 |
|
usually ships 10-16 days |
013 |
182-0082
|
Handle grip |
$4.61
|
1 |
|
usually ships 9-12 days |
014 |
182-0074
|
Upper handle assembly |
$22.07
|
1 |
|
usually ships 10-16 days |
016 |
182-0075
|
Screw and nut assembly |
$5.50
|
2 |
|
ships same day |
017 |
182-0138
|
Lower handle tube |
$13.79
|
1 |
|
usually ships 10-16 days |
018 |
182-0148
|
Bag adapter |
$8.45
|
1 |
|
usually ships 10-16 days |
N/S |
182-0095
|
Dust cup assembly |
$131.71
|
1 |
|
usually ships 10-16 days |