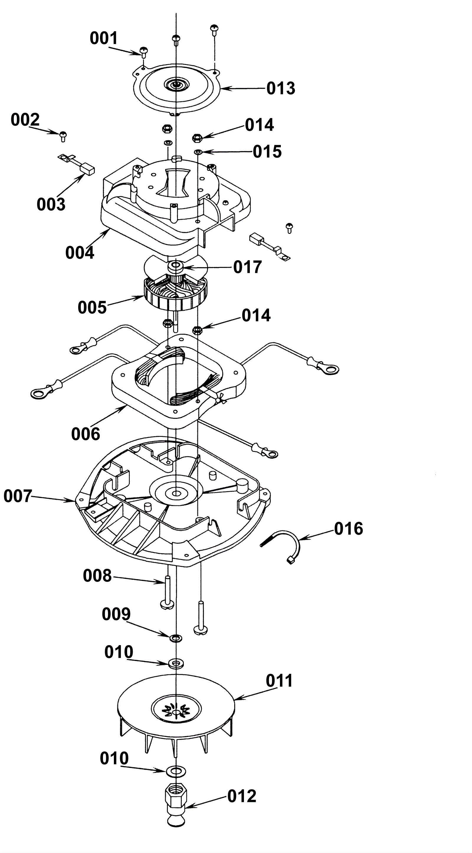
| # | Part | Description | Price | Req | Notes | Availability |
001 |
N/A
|
Not available |
Call for price
|
3 |
(Screw) |
usually ships 3-26 days |
002 |
999-0418
|
Screw 6-32 x 1/4 pan head slotted zinc plated |
$0.99
|
2 |
|
ships same day |
003a |
991-5101
|
Carbon brush (sold individually) |
$5.99
|
2 |
(OEM) |
usually ships 14-20 days |
003b |
991-5101
|
Carbon brush (sold individually) |
$5.99
|
2 |
(NON-OEM) |
usually ships 14-20 days |
004 |
N/A
|
Not available |
Call for price
|
1 |
Motor cover |
usually ships 3-26 days |
005 |
182-0009
|
120V vacuum motor assembly |
$113.31
|
1 |
|
ships same day |
006 |
N/A
|
Not available |
Call for price
|
1 |
(Motor stator) |
usually ships 3-26 days |
007 |
N/A
|
Not available |
Call for price
|
1 |
(Base) (please use 182-0009) |
usually ships 3-26 days |
008 |
182-0068
|
Orlo thread screw |
$2.50
|
2 |
|
usually ships 10-16 days |
009 |
182-0069
|
Washer |
$1.10
|
1 |
|
ships same day |
010 |
999-0024
|
Washer 5/16 flat stainless steel |
$1.34
|
2 |
|
ships same day |
011a |
182-0071
|
Fan |
$8.97
|
1 |
|
ships same day |
011b |
272-9477
|
Pulley and fan kit (green) |
$13.49
|
1 |
(lifetime warranty) |
ships same day |
012 |
182-0072
|
Motor pulley |
$6.03
|
1 |
|
usually ships 10-16 days |
013 |
182-0054
|
Retainer assembly |
$4.61
|
1 |
|
usually ships 1-5 days |
014 |
999-0308
|
Nut 8-32 plain |
$0.99
|
4 |
|
ships same day |
015 |
999-0092
|
Washer #8 internal star lock zinc plated |
$0.99
|
2 |
|
ships same day |
016 |
N/A
|
Not available |
Call for price
|
1 |
(Cable tie) |
usually ships 3-26 days |
017 |
182-0065
|
Bearing |
$11.54
|
1 |
|
usually ships 10-16 days |