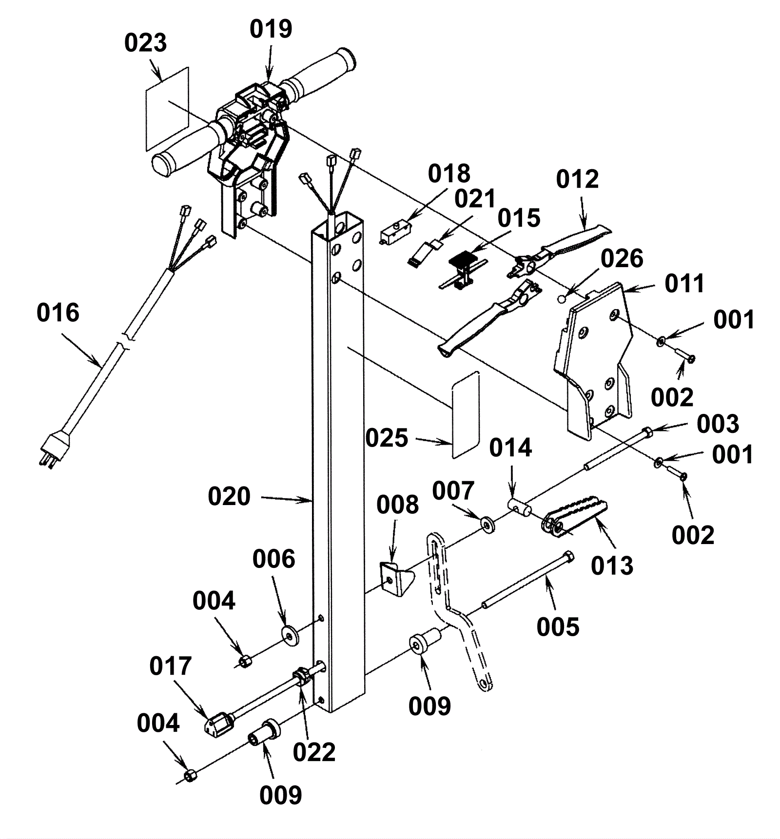
| # | Part | Description | Price | Req | Notes | Availability |
001 |
999-0123
|
Washer 1/4 SAE flat zinc plated |
$0.99
|
6 |
|
ships same day |
002 |
999-0570
|
Screw 10-24 x 1 1/4 pan head phillips stainless steel |
$0.99
|
6 |
|
ships same day |
003 |
172-1938
|
Bolt 3/8-16 x 5 hex head |
$12.89
|
1 |
|
usually ships 13-18 days |
004 |
999-0188
|
Nut 3/8-16 nylon insert lock zinc plated |
$0.99
|
2 |
|
ships same day |
005 |
472-3556
|
SCR-HEX SS 3/8-16 X 7.0 |
$11.35
|
1 |
|
usually ships 13-18 days |
006 |
172-1939
|
Washer 13/32 x 1 1/4 x 5/32 |
$12.89
|
1 |
|
usually ships 13-18 days |
007 |
172-1940
|
Washer 13/32 x 1 x 5/32 flat |
$12.89
|
1 |
|
usually ships 13-18 days |
008 |
172-1941
|
Bracket |
$85.51
|
1 |
|
usually ships 13-18 days |
009 |
172-3088
|
Bushing |
$32.26
|
2 |
|
usually ships 13-18 days |
011 |
172-3090
|
Handle cover (OBSOLETE) |
$82.93
|
1 |
|
usually ships 13-18 days |
012 |
172-4663
|
Handle lever (OBSOLETE) |
$35.60
|
2 |
|
usually ships 13-18 days |
013 |
172-1942
|
Latch arm (OBSOLETE) |
$148.07
|
1 |
|
usually ships 13-18 days |
014 |
172-1943
|
Pin |
$44.84
|
1 |
|
usually ships 13-18 days |
015 |
172-3091
|
Locking button |
$16.20
|
1 |
|
ships same day |
016a |
192-8472
|
14/3 replacement power cord 50 foot |
$222.95
|
1 |
|
usually ships 1-5 days |
016b |
991-5005
|
14/3 replacement power cord 50 foot (yellow) |
$108.51
|
1 |
(NON-OEM) |
ships same day |
017 |
172-3092
|
Cord assembly 14/3 42 inch |
$55.14
|
1 |
|
usually ships 13-18 days |
018 |
172-3093
|
Switch |
$16.20
|
1 |
|
ships same day |
019 |
172-3089
|
Handle (OBSOLETE) |
$214.91
|
1 |
|
usually ships 13-18 days |
020 |
172-0603
|
Handle tube |
$204.05
|
1 |
|
usually ships 13-18 days |
021 |
172-3100
|
Spring plate |
$9.70
|
1 |
|
ships same day |
022 |
172-4595
|
Strain relief (OBSOLETE) |
$18.39
|
1 |
|
usually ships 13-18 days |
023 |
172-3102
|
Logo decal (OBSOLETE) |
$14.95
|
1 |
|
usually ships 1-5 days |
025 |
172-5020
|
Warning decal (OBSOLETE) |
$14.95
|
1 |
|
usually ships 13-18 days |
026 |
172-3103
|
1/4 ball bearing stainless steel |
$14.18
|
1 |
|
usually ships 13-18 days |