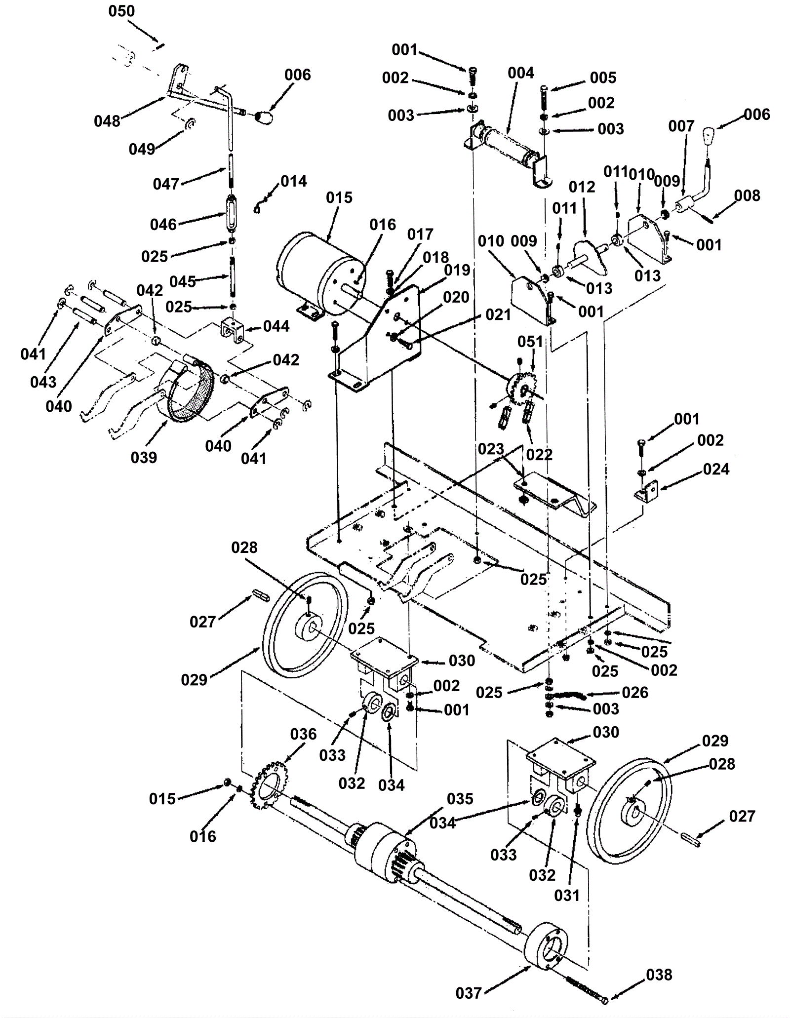
Whee Drive Assembly - After SN 342115
Click to enlarge
#
Part
Description
Price
Req
Notes
Availability
036
172-3127
Sprocket
$107.34
1
usually ships 1-5 days