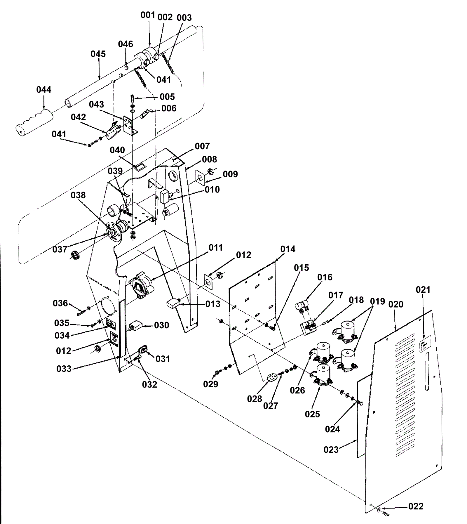
Handle Assembly - After SN 342115
Click to enlarge