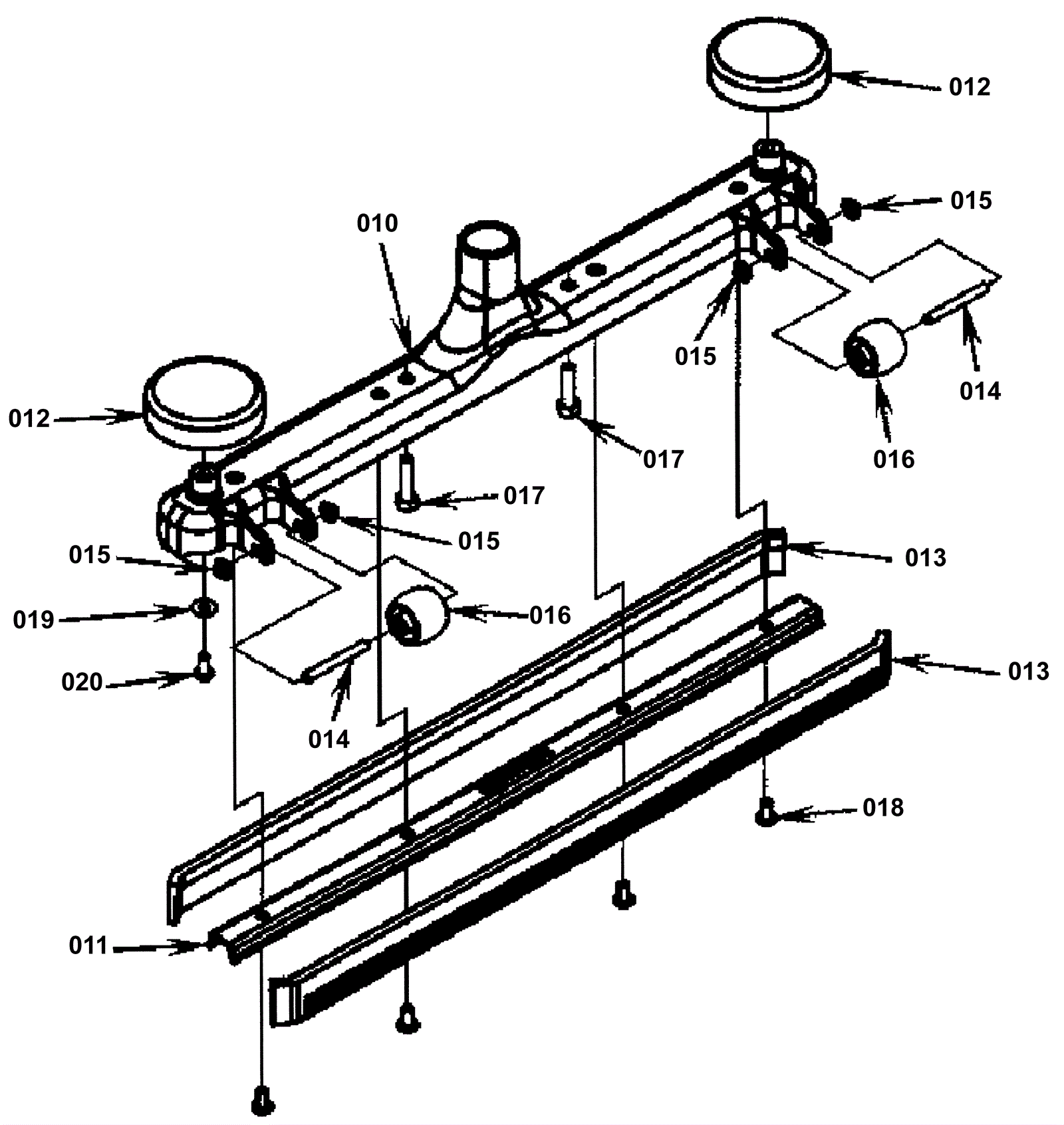
| # | Part | Description | Price | Req | Notes | Availability |
000 |
272-5111
|
24 inch squeegee assembly |
$329.16
|
|
|
usually ships 13-18 days |
010 |
272-5114
|
24 inch squeegee housing |
$177.07
|
1 |
|
usually ships 13-18 days |
011 |
272-5112
|
24 inch squeegee retainer |
$34.23
|
1 |
|
usually ships 13-18 days |
012 |
272-5115
|
Guide wheel |
$12.89
|
2 |
|
usually ships 13-18 days |
013 |
172-0454
|
Squeegee blade 24 inch (blue) |
$41.97
|
2 |
|
ships same day |
014 |
272-5113
|
Axle |
$34.23
|
2 |
|
usually ships 13-18 days |
015 |
272-5254
|
Nut 1/4 push cap |
$11.35
|
4 |
|
usually ships 13-18 days |
016 |
272-5116
|
Wheel |
$28.94
|
2 |
|
usually ships 13-18 days |
017 |
999-0688
|
Bolt 5/16-18 x 1 1/4 hex head stainless steel |
$0.99
|
2 |
|
ships same day |
018 |
999-0522
|
Screw 1/4-20 x 1/2 pan head phillips stainless steel |
$1.03
|
4 |
|
ships same day |
019 |
999-0998
|
Washer #10 flat stainless steel |
$0.99
|
2 |
|
ships same day |
020 |
272-5255
|
Screw 10-16 X .38 phillips pan head stainless steel type b |
$12.89
|
2 |
|
usually ships 1-5 days |