| # | Part | Description | Price | Req | Notes | Availability |
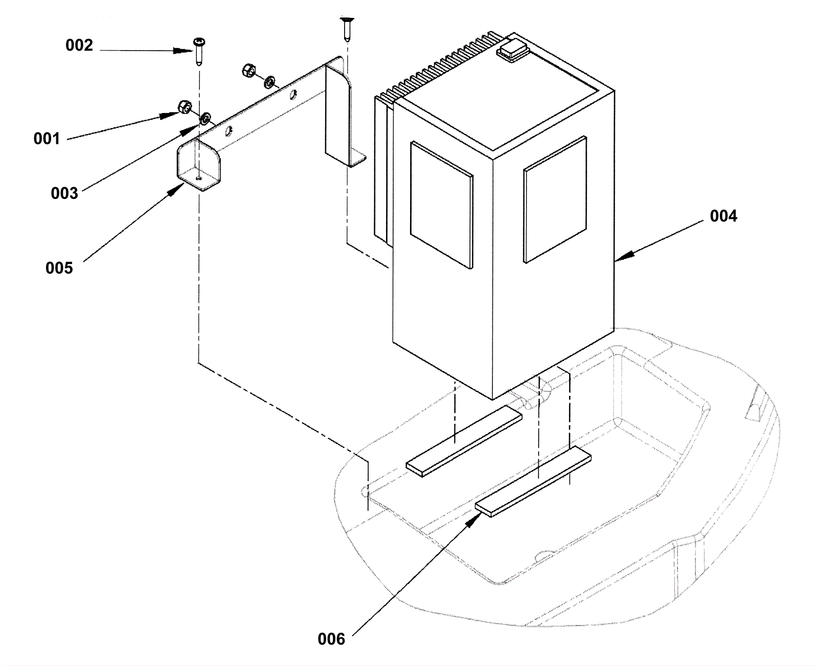
001 |
999-0497
|
Nut M6-1 nylon insert lock stainless steel |
$0.99
|
2 |
|
ships same day |
002 |
172-3818
|
Screw 4x8 thread form (OBSOLETE) |
$6.60
|
2 |
|
usually ships 1-5 days |
003 |
172-3762
|
Washer 6 X 12 1/2 flat (OBSOLETE) |
$7.59
|
2 |
|
usually ships 1-5 days |
004 |
172-3816
|
12V 20amp onboard battery charger |
$1,925.00
|
1 |
|
usually ships 1-5 days |
005 |
172-3819
|
Bracket (OBSOLETE) |
$33.86
|
1 |
|
usually ships 1-5 days |
006 |
172-3820
|
Seal (OBSOLETE) |
$10.52
|
2 |
|
usually ships 13-18 days |