| # | Part | Description | Price | Req | Notes | Availability |
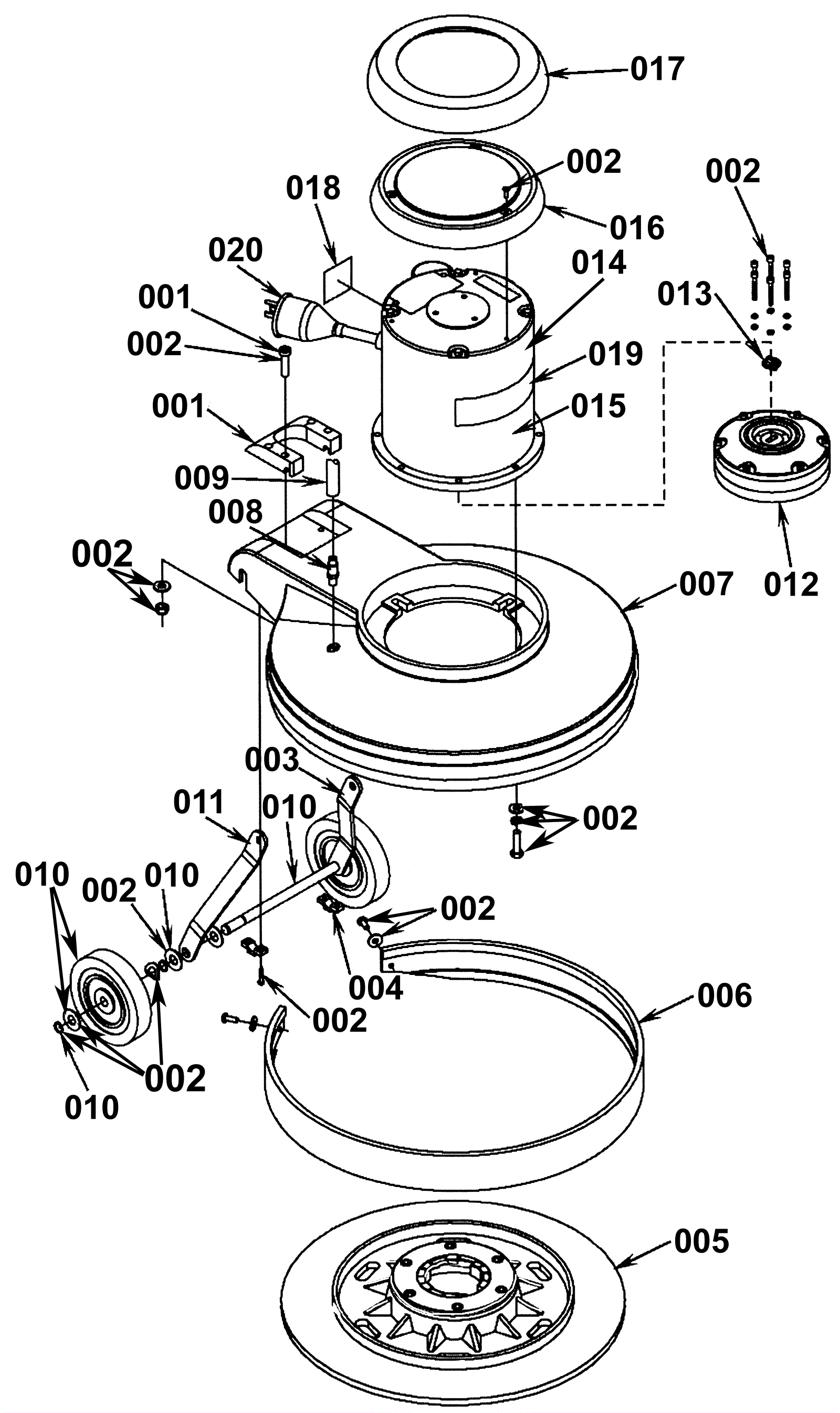
001 |
172-2952
|
Pivot kit (OBSOLETE) |
$131.43
|
1 |
|
usually ships 1-5 days |
002 |
172-2924
|
Hardware kit |
$120.99
|
1 |
|
usually ships 13-18 days |
003 |
172-2923
|
Compression handle release kit (OBSOLETE) |
$259.03
|
1 |
|
usually ships 13-18 days |
004 |
172-2954
|
Axle clamp block |
$10.71
|
2 |
|
usually ships 13-18 days |
005d |
991-2208
|
3 hole clutch plate (formerly 6 hole) |
$22.54
|
1 |
Clutch Plate |
ships same day |
006 |
172-2956
|
Bumper 17inch |
$25.30
|
1 |
|
usually ships 1-5 days |
006a |
172-2957
|
Bumper 20inch |
$34.23
|
1 |
|
usually ships 1-5 days |
007 |
172-2958
|
Frame 17inch (OBSOLETE) |
$287.50
|
1 |
|
usually ships 1-5 days |
007a |
172-2959
|
Frame 20inch (OBSOLETE) |
$409.06
|
1 |
|
usually ships 1-5 days |
008 |
172-2960
|
Hose barb (OBSOLETE) |
$25.63
|
1 |
|
usually ships 1-5 days |
009 |
172-2961
|
Solution Hose (OBSOLETE) |
$7.37
|
1 |
|
usually ships 13-18 days |
010 |
172-2962
|
Wheel kit (OBSOLETE) |
$154.61
|
1 |
|
usually ships 13-18 days |
011 |
172-2923
|
Compression handle release kit (OBSOLETE) |
$259.03
|
1 |
|
usually ships 13-18 days |
012 |
172-2964
|
Triple planetary gear box (OBSOLETE) |
$697.08
|
1 |
|
usually ships 1-5 days |
013 |
240-0077
|
Coupling |
$18.72
|
1 |
|
ships same day |
014a |
172-2966
|
Motor 1 1/4 hp |
$873.29
|
1 |
|
usually ships 1-5 days |
014b |
172-4578
|
Capacitor (OBSOLETE) |
$57.31
|
1 |
|
usually ships 1-5 days |
014c |
172-2967
|
Rotary switch |
$31.90
|
1 |
|
usually ships 1-5 days |
014d |
172-2968
|
Stationary switch |
$32.67
|
1 |
|
usually ships 1-5 days |
015 |
172-2969
|
Motor label (OBSOLETE) |
$101.07
|
1 |
|
usually ships 1-5 days |
016 |
172-2970
|
Motor top cover (OBSOLETE) |
$53.68
|
1 |
|
usually ships 1-5 days |
017 |
172-2971
|
Top cover bumper (OBSOLETE) |
$24.87
|
1 |
|
usually ships 1-5 days |
018 |
172-2972
|
Read manual label (OBSOLETE) |
$18.02
|
1 |
|
usually ships 1-5 days |
019a |
172-2973
|
Pacesetter 170 decal (OBSOLETE) |
$18.82
|
1 |
|
usually ships 1-5 days |
019b |
N/A
|
Not available |
Call for price
|
1 |
(Pacesetter 200 decal) |
usually ships 3-26 days |
020 |
172-2976
|
Plug protector (OBSOLETE) |
$74.25
|
1 |
|
usually ships 1-5 days |
N/S |
996-0372
|
Big mouth pad holder (left hand thread) |
$42.60
|
1 |
|
ships same day |