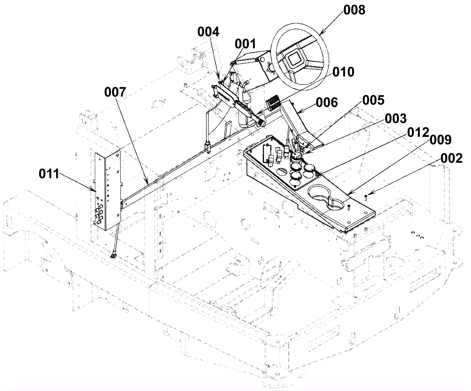
Control System
Click to enlarge