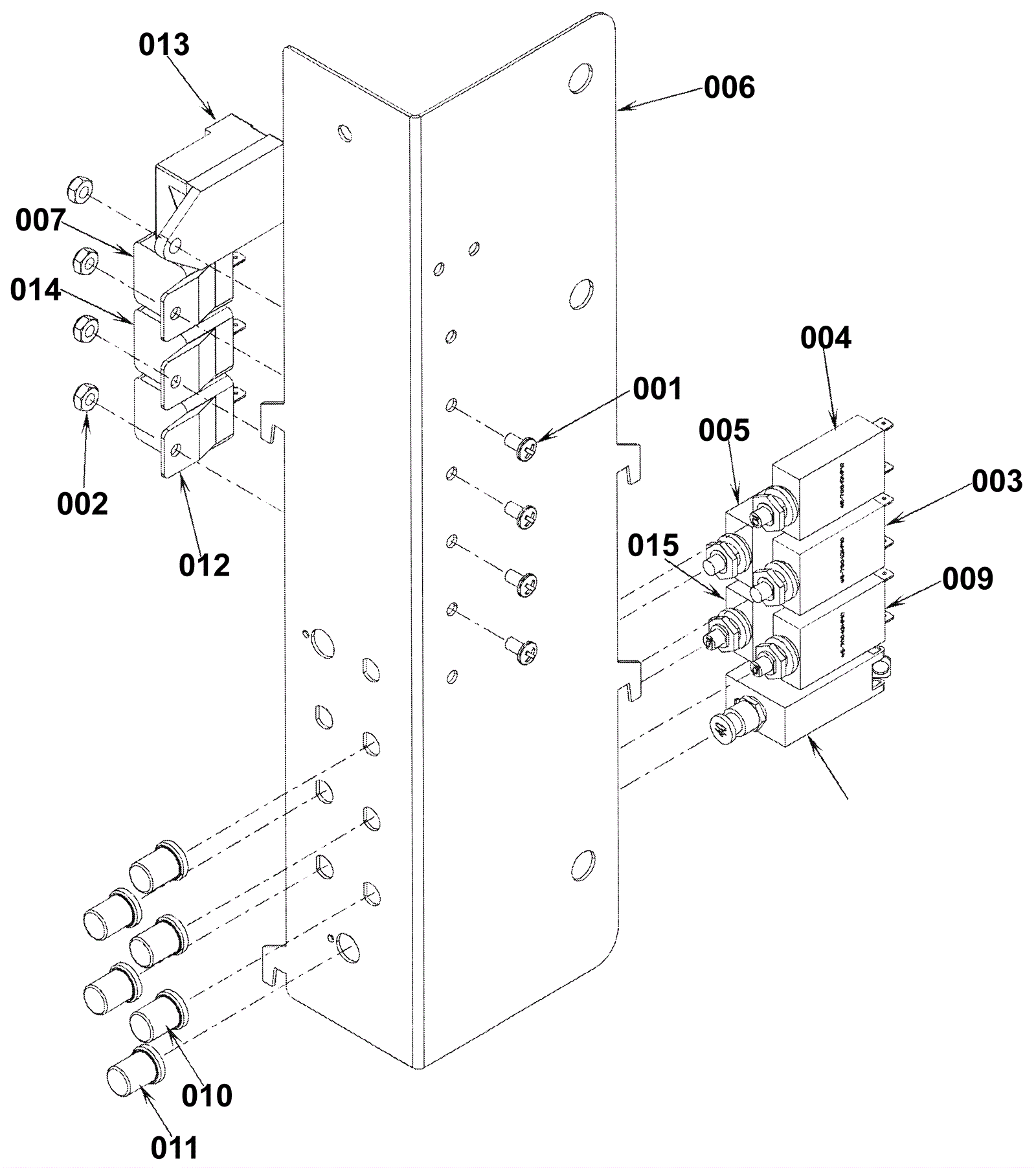
Circuit Breaker Diesel Assembly
Click to enlarge