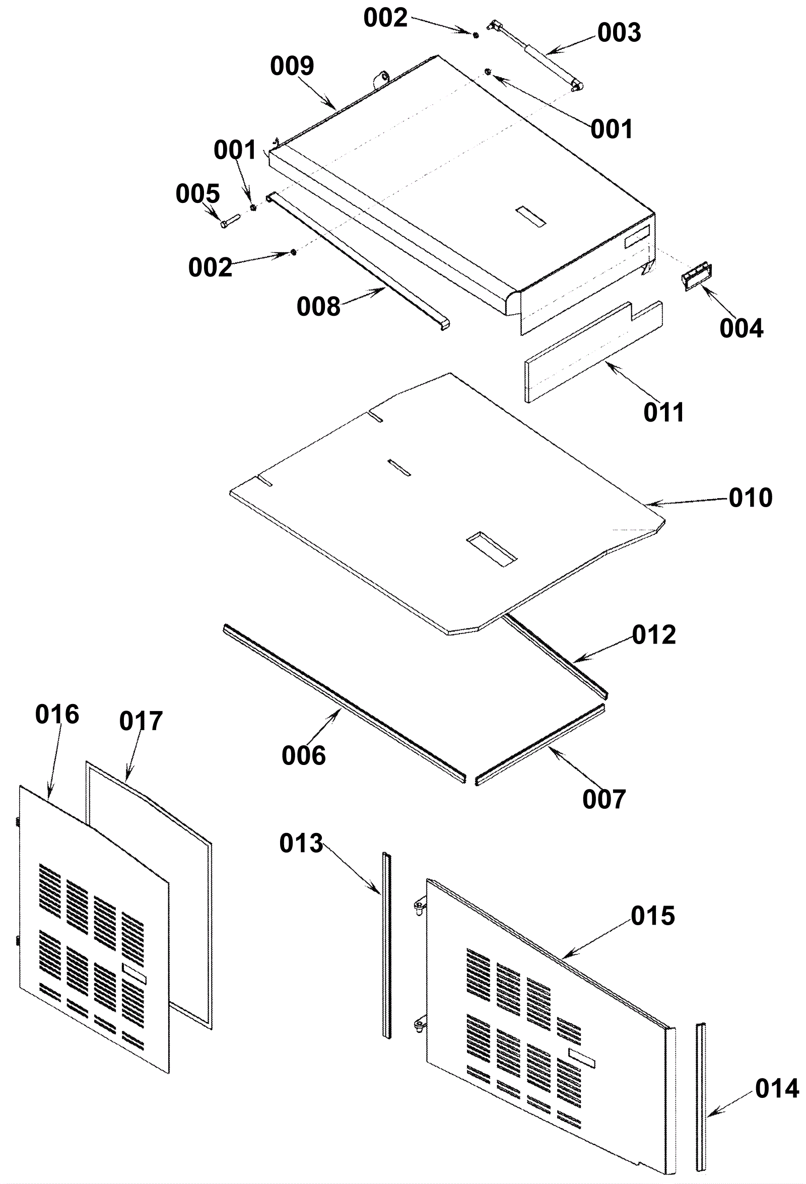
Chassis Assembly 3
Click to enlarge