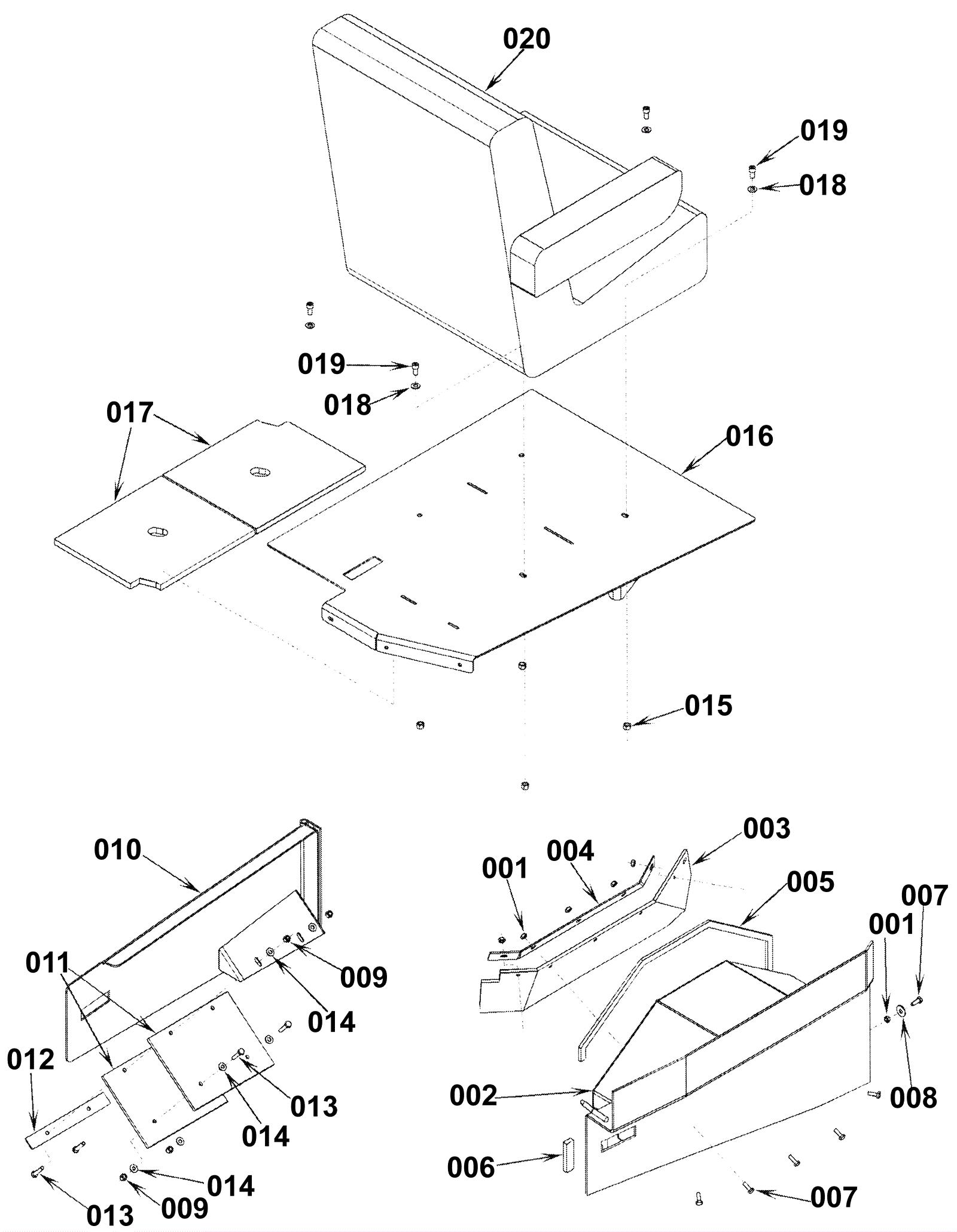
Chassis Assembly 2
Click to enlarge