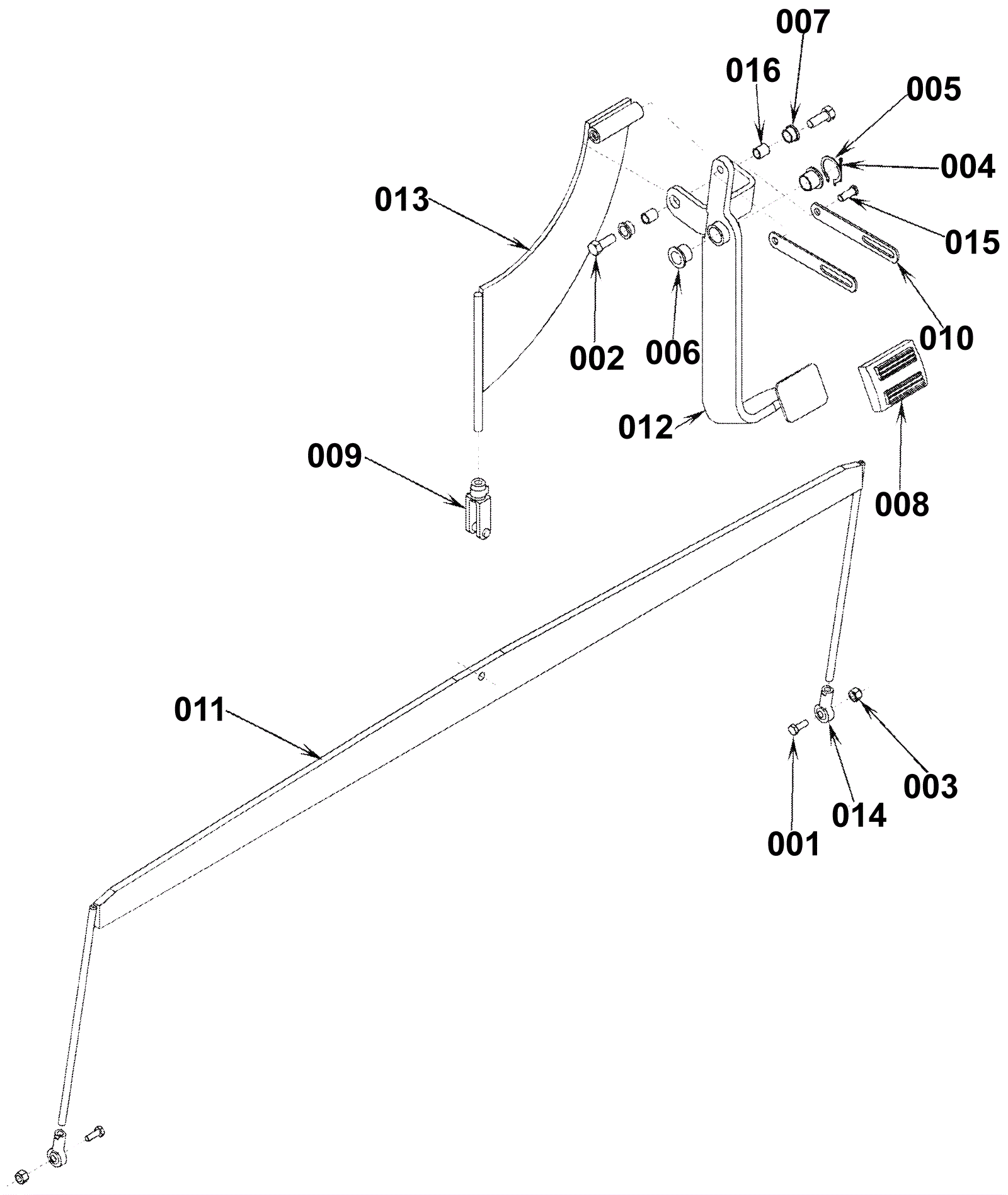
Brake Lever Assembly
Click to enlarge