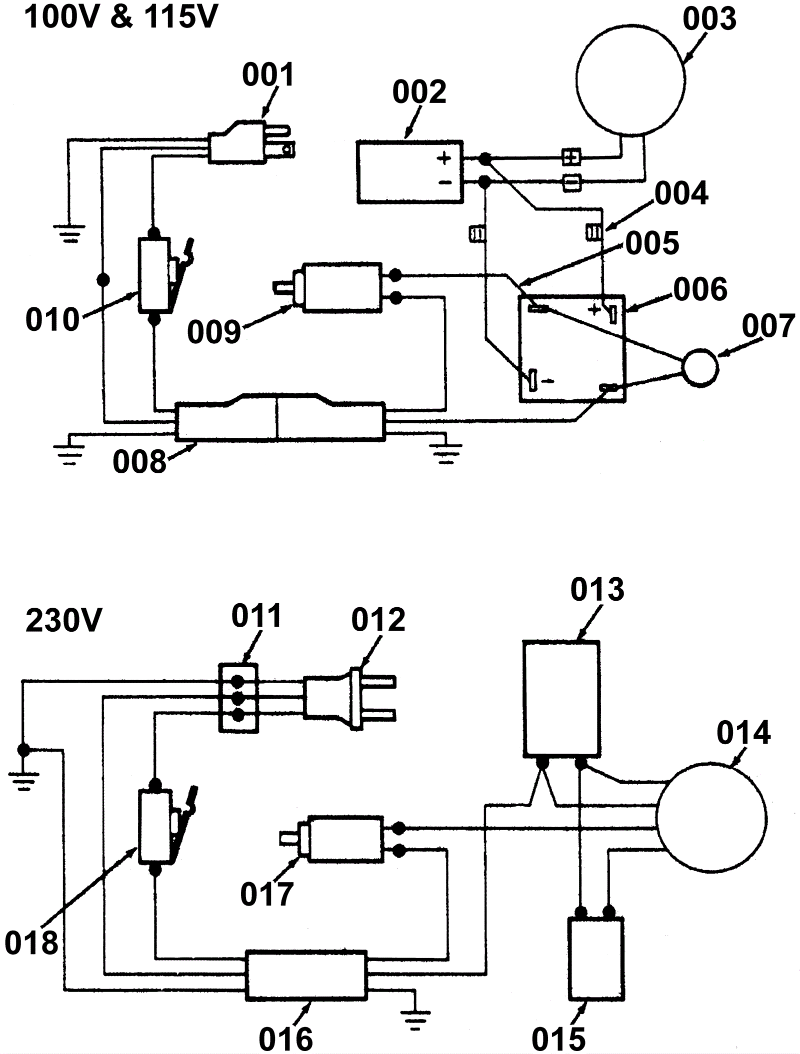
Wiring Diagrams
Click to enlarge