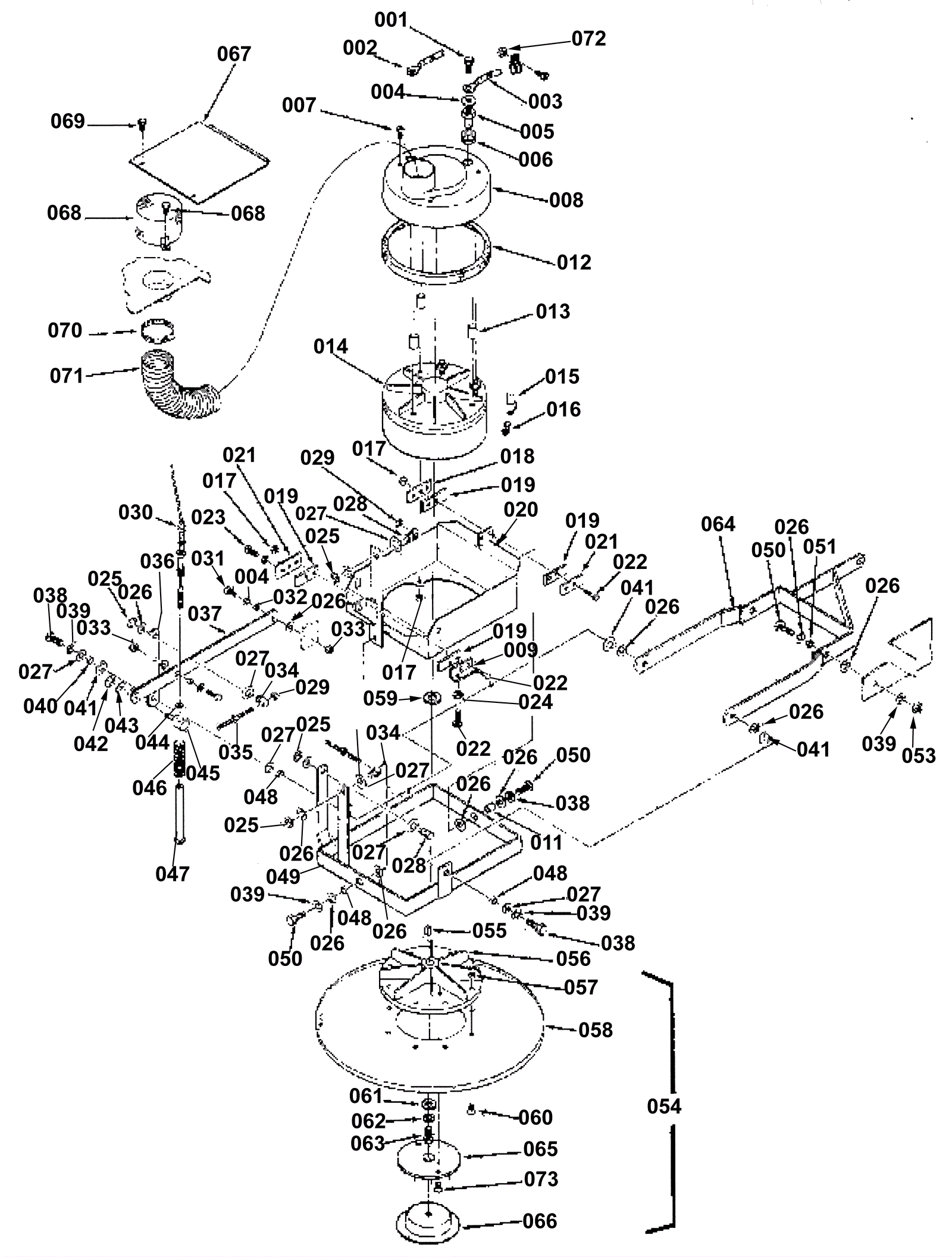
Drive Unit Assembly
Click to enlarge