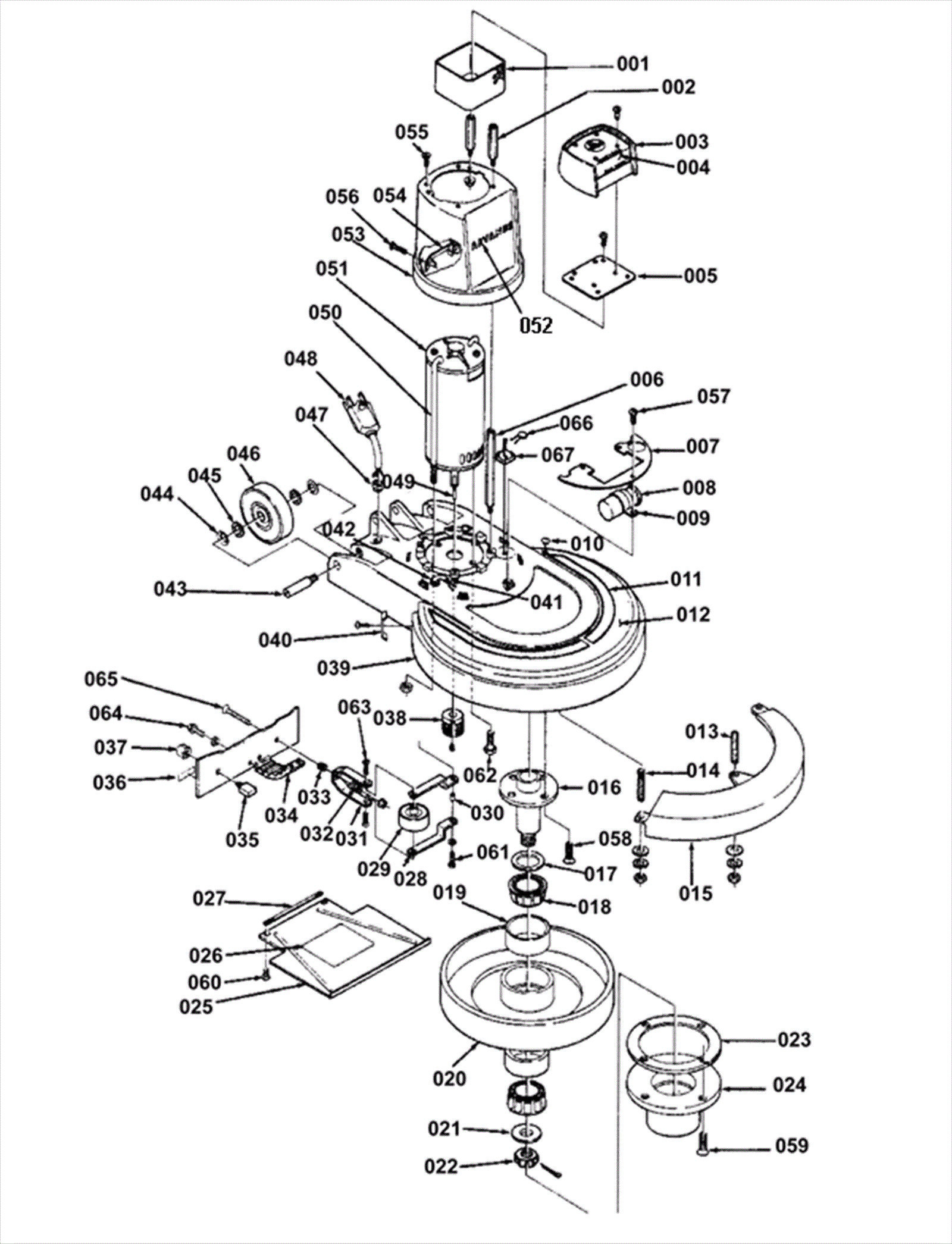
MATADOR 17HS
Base Assembly 115V - After SN279789
Click to enlarge
#
Part
Description
Price
Req
Notes
Availability
01
172-4563
Poly-v belt (OBSOLETE)
$93.46
usually ships 13-18 days