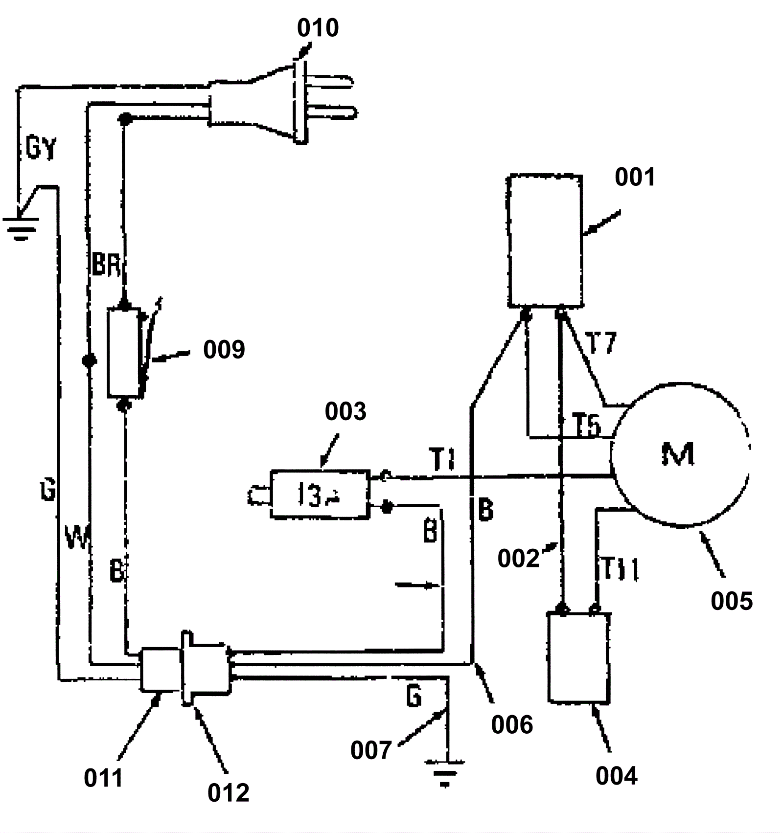
Wiring Diagram 230V
Click to enlarge