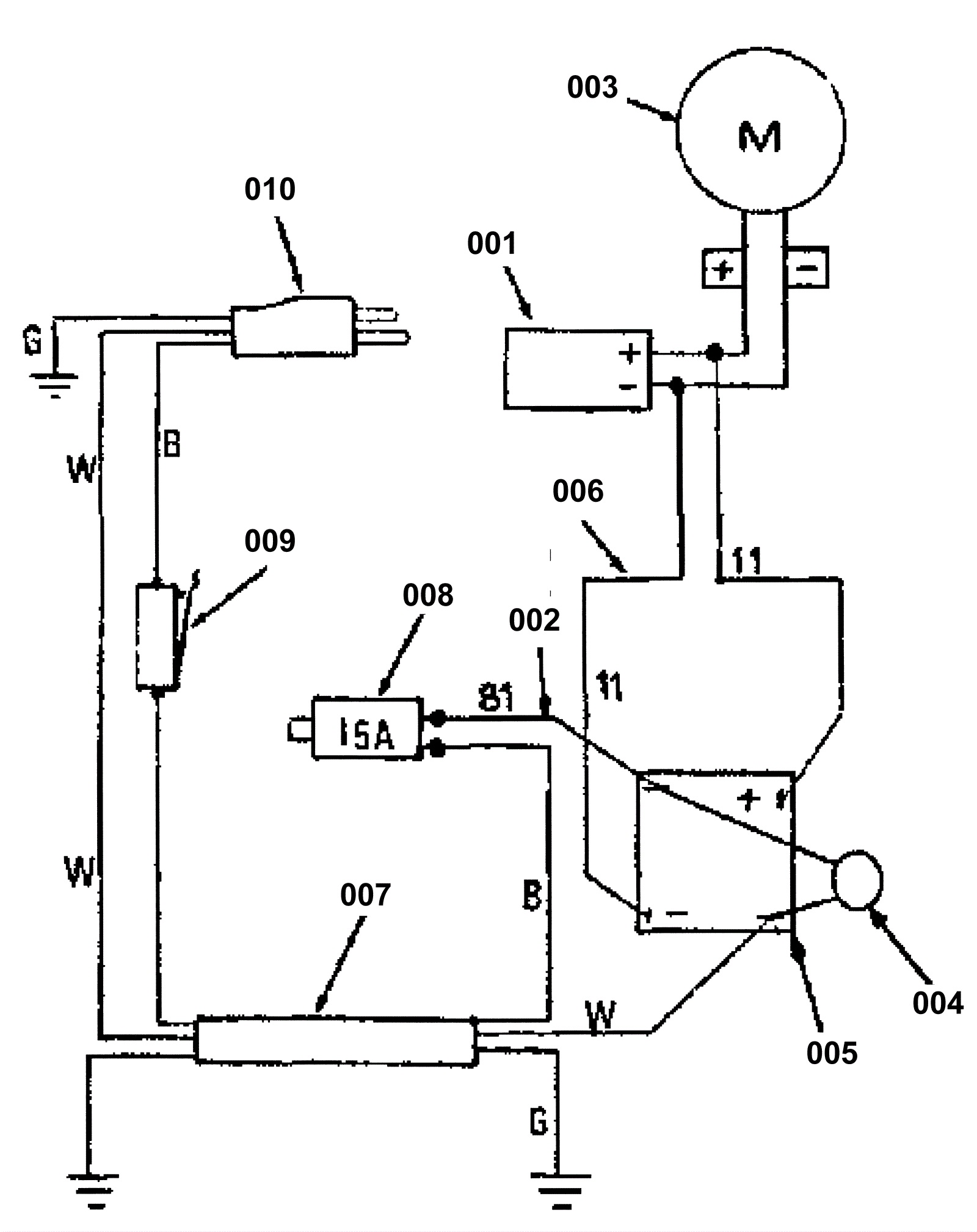
Wiring Diagram - 230V