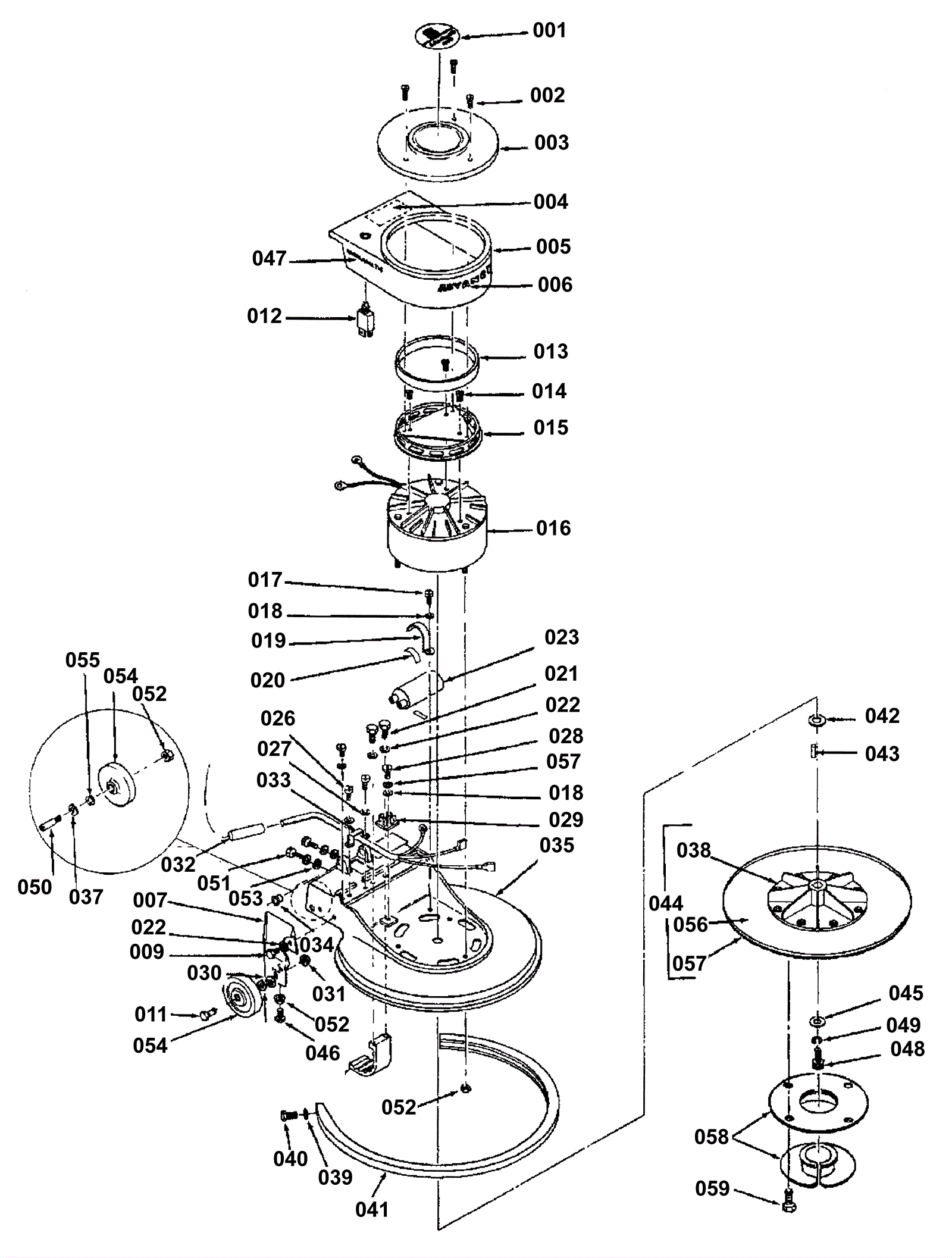
Base and Handle Assembly
Click to enlarge