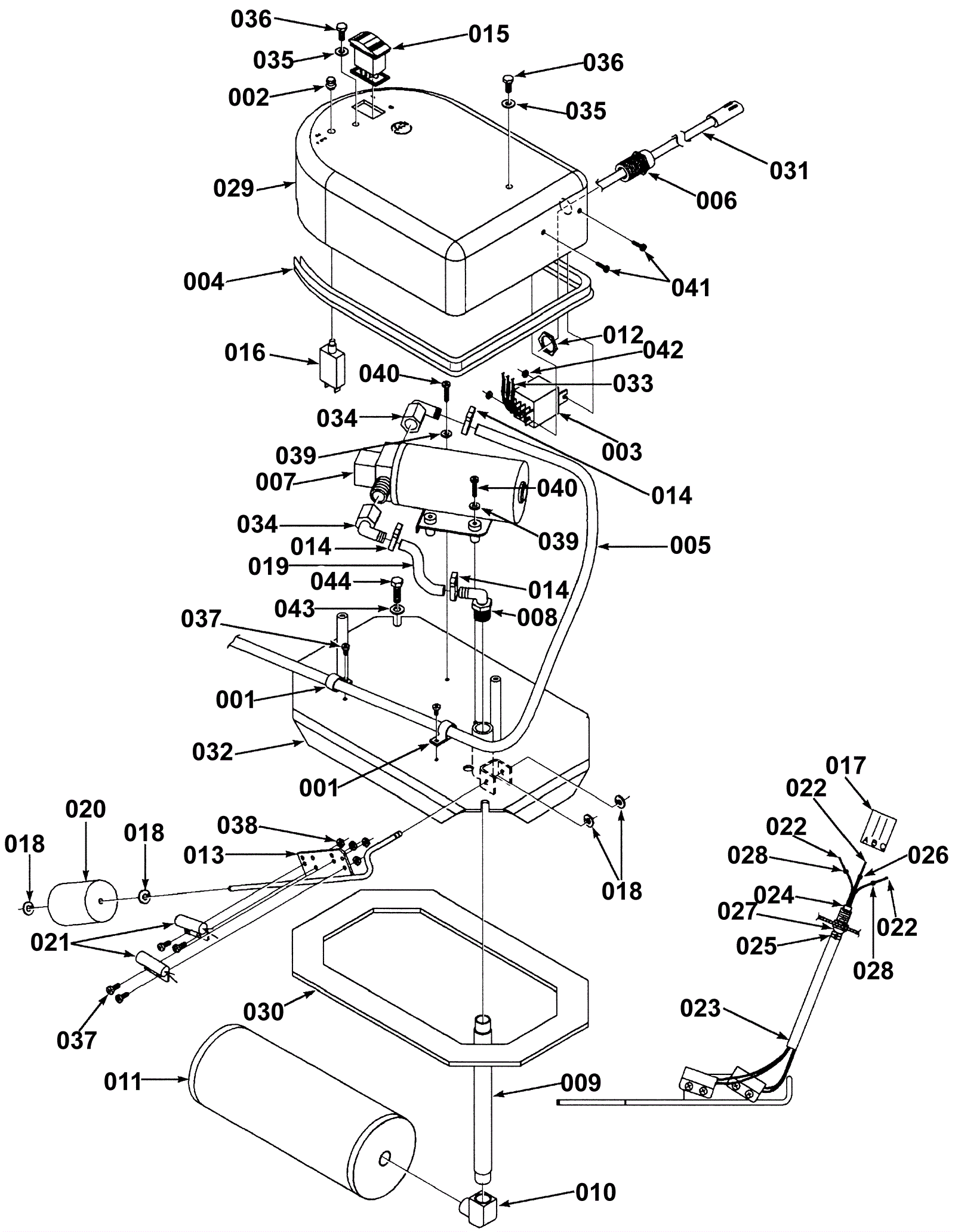
Extended Scrub Kit
Click to enlarge