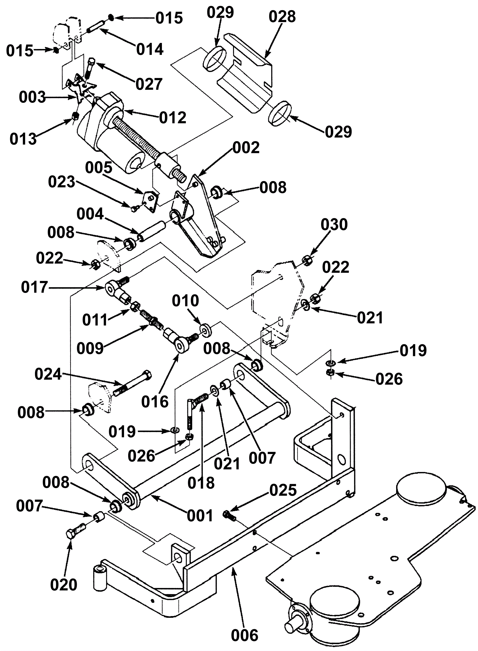
Drush Drive System - Gear Case Lift
Click to enlarge